Filtro mecánico

Un filtro mecánico es un filtro procesador de señales frecuentemente utilizado en vez de un filtro electrónico de radiofrecuencias. Su propósito es el mismo que el de un filtro electrónico normal: pasar un rango de frecuencias de la señal, bloqueando todas las demás. El filtro actúa en las vibraciones mecánicas, las cuales son el análogo de la señal eléctrica. En la entrada y salida del filtro, los transductores convierten la señal eléctrica en vibraciones mecánicas, y luego estas son transformadas de nuevo en la primera forma.
Todos los componentes de un filtro mecánico son directamente análogos a los distintos elementos encontrados en los circuitos eléctricos. Los elementos mecánicos obedecen a las funciones matemáticas, las cuales son idénticas a su elementos eléctricos correspondientes. Esto hace posible aplicar análisis de circuitos eléctricos y métodos de diseño similares en los filtros mecánicos. La teoría eléctrica ha desarrollado un amplio catálogo de formas matemáticas que producen filtros con respuestas de frecuencia útiles, por lo cual el diseñador de éstos puede hacer uso directo de aquellas. Solo es necesario ajustar los componentes mecánicos a valores apropiados para producir un filtro con una respuesta idéntica a la de su contraparte eléctrica.
El acero y la aleación de níquel-hierro, son materiales comunes para los componentes de los filtros mecánicos; el níquel es usado a veces para los acoplamientos de la entrada y la salida. Los resonadores en el filtro fabricados con dichos materiales necesitan ser mecanizados para ajustar precisamente su frecuencia de resonancia antes de ser finalmente ensamblados.
Mientras que el significado de filtro mecánico en este artículo corresponde al utilizado en la electromecánica, Es posible usar un diseño mecánico para filtrar las vibraciones mecánicas u ondas de sonido —las cuales son también, esencialmente mecánicas— directamente. Por ejemplo, la filtración de la respuesta de frecuencia en el diseño de la caja de los altavoces, puede ser lograda por medio de componentes mecánicos. En la aplicación eléctrica, además de los componentes mecánicos que corresponden a sus contrapartes, se requieren transductores que conviertan las ondas entre los dominios mecánico y eléctrico. Se presenta, más adelante, una selección representativa de una amplia variedad de componentes y topologías existentes para los filtros mecánicos.
La teoría de los filtros mecánicos fue aplicada primero para mejorar las partes mecánicas de los fonógrafos de los años 20. Alrededor de los años 50 los filtros mecánicos se encontraban siendo manufacturados como componentes independientes para aplicaciones en los radiotransmisores y receptores de gama alta. El elevado nivel de factor de calidad "Q" —conocido en inglés como quality factor— que pueden alcanzar los resonadores mecánicos, es mucho más alto que el de un circuito RLC, el cual hace posible la construcción de filtros mecánicos con una excelente selectividad. La buena selectividad, factor esencial en los receptores de radio, le dio un gran atractivo a dichos filtros. Los investigadores contemporáneos se encuentran trabajando en filtros microelectromecánicos, los cuales son dispositivos mecánicos correspondientes a los circuitos electrónicos integrados.
Elementos

Los elementos de un circuito eléctrico pasivo lineal incluyen a los inductores, capacitores y a los resistores, los cuales tienen la propiedad de la inductancia, elastancia (capacitancia inversa) y resistencia respectivamente. Las contrapartes mecánicas de estas propiedades son, respectivamente, la masa, la rigidez y el amortiguamiento. En los diseños de la mayoría de los filtros electrónicos, solo los inductores y capacitores son usados en el cuerpo del filtro (aunque el filtro puede estar acabado con resistores en la entrada y salida). Los resistores no están presentes en un filtro teórico ensamblado con componentes ideales, solamente aumentando en los diseños prácticos como elementos parásitos no deseados. De la misma manera, un filtro mecánico idealmente consistiría solo de componentes con propiedades de masa y rigidez, aunque en realidad hay algo de resistencia presente también.[1]
Las contrapartes mecánicas del voltaje y la corriente eléctrica en este tipo de análisis son, respectivamente, la fuerza (F) y la velocidad (v), las cuales representan a las formas de onda de la señal. A partir de lo anterior, la impedancia mecánica puede ser definida en términos de la frecuencia angular imaginaria, jω, la cual corresponde completamente a su análogo eléctrico.[2][3]
| Elemento mecánico | Fórmula (en una dimensión) | Impedancia mecánica | Contraparte eléctrica |
|---|---|---|---|
| Rigidez, S | Elastancia, 1/C, el inverso de la capacitancia | ||
| Masa, M | Inductancia, L | ||
| Amortiguamiento, D | Resistencia, R |
Notas:
- Los símbolos x, t, y a representan a sus magnitudes usuales: la distancia, el tiempo y la aceleración respectivamente.
- La magnitud mecánica compliancia, la cual es la inversa de la rigidez, puede ser utilizada en vez de la rigidez para proporcionar una correspondencia más directa a la capacitancia, aunque la rigidez se utiliza en la tabla como la cantidad más familiar.
El esquema presentado en la tabla se conoce como la analogía de la impedancia. Los diagramas de circuitos producidos utilizando esta analogía igualan a la impedancia eléctrica del sistema mecánico observado por el circuito eléctrico, haciéndolo intuitivo desde el punto de vista de la ingeniería eléctrica. También existe la analogía de la admitancia, en la cual la fuerza corresponde a la corriente, mientras que la velocidad corresponde al voltaje. Ésta arroja resultados igualmente válidos pero requiere el uso de los recíprocos de las contrapartes eléctricas relacionadas arriba. Por tanto, M → C, S → 1/L, D → G, en donde G corresponde a la conductancia eléctrica, el inverso de la resistencia. Los circuitos equivalentes producidos por este esquema son similares, si bien se representa la impedancia dual, mientras que los elementos en serie se convierten a paralelo, los capacitores se transforman en inductores, etc.[4] Los diagramas de circuitos que utilizan la analogía de la admitancia se ajustan más con la topología del circuito, haciéndola más intuitiva desde el punto de vista de la ingeniería mecánica.[5] Además de su aplicación a los sistemas electromecánicos, estas analogías son ampliamente usadas para apoyar el análisis en la acústica.[6]
Cualquier componente mecánico poseerá inevitablemente masa y rigidez. Esto se traduce, en términos eléctricos, en un circuito LC, el cual consiste en un inductor y un capacitor; por consiguiente, los componentes mecánicos son los resonadores, y son muchas veces utilizados como tal. Es posible representar a los inductores y capacitores como elementos agrupados dentro de una implementación mecánica por medio de minimizar, sin llegar a eliminar, a la propiedad no deseada. Los capacitores pueden estar hechos de barras largas y delgadas, lo cual significa que la masa es mínima y la compliancia es máxima. Los inductores, por otro lado, pueden estar hechos de piezas cortas y anchas que maximizan a la masa, en comparación con la compliancia de la pieza.[7]
Las partes mecánicas actúan como la línea de transmisión de las vibraciones mecánicas. Si la longitud de onda es corta, en comparación con la parte, entonces un modelo de parámetros concentrados, como los antes descritos, no es el adecuado, por lo que un modelo de elementos distribuidos debe ser utilizado. Los elementos mecánicos distribuidos son completamente análogos a los elementos eléctricamente distribuidos, lo cual indica que el diseñador del filtro mecánico puede usar los métodos del diseño eléctrico del filtro de elementos distribuidos.[7]
Historia
Telegrafía armónica
El diseño del filtro mecánico fue desarrollado al aplicar los descubrimientos hechos en la teoría de los filtros eléctricos a la mecánica. Sin embargo, uno de los primeros ejemplos (1870) de la filtración acústica fue la "telegrafía armónica", la cual surgió precisamente porque la resonancia eléctrica era muy poco entendida, pero la resonancia mecánica (en particular, la resonancia acústica) era muy familiar a los ingenieros. Esta situación no iba a durar por mucho tiempo: la resonancia eléctrica había sido conocida por la ciencia desde cierto tiempo atrás, y no pasó mucho antes de que los ingenieros comenzaran a producir diseños completamente eléctricos para los filtros. En esta época, sin embargo, la telegrafía armónica tenía ya algo de importancia. La idea era combinar varias señales en una línea de telégrafo por medio de lo que ahora se conoce como multiplexación por división de frecuencia, ahorrándose así varios costos de la instalación de la línea. El manipulador de cada operador activaba una lengüeta, la cual convertía esta vibración en una señal eléctrica. La filtración en el operador receptor era lograda por medio de una lengüeta similar afinada precisamente en la misma frecuencia, la cual solo vibraría y produciría un sonido con las transmisiones hechas por el operador con la afinación idéntica.[8][9]
Distintas versiones de la telegrafía armónica fueron desarrolladas por Elisha Gray, Alexander Graham Bell, Ernest Mercadier[n 1] y otros. Su habilidad para actuar como un transductor de sonido desde y hacia el dominio eléctrico fue de inspiración para la invención del teléfono.[8][9]
Circuitos mecánicos equivalentes
Una vez que las bases del análisis de circuitos comenzaron a ser establecidas, no pasó mucho tiempo antes de que las ideas de la teoría impedancia compleja y la de diseño de filtros fueron transferidos a la mecánica por la analogía. Kenelly, el cual también fue responsable de la introducción de la impedancia compleja, así como Arthur Gordon Webster, fueron los primeros en extender el concepto de la impedancia hacia los sistemas mecánicos en 1920.[10] La admitancia mecánica y la analogía asociada de la movilidad aparecieron mucho después, gracias a la Firestone en 1932.[11][12]
No era suficiente solo con el desarrollo de una analogía mecánica. Esto podía ser aplicado a problemas que se encontraban completamente en el dominio mecánico, pero para que los filtros mecánicos tuvieran una aplicación eléctrica es necesario incluir el transductor en la analogía también. En 1907, Poincaré fue el primero en describir a un transductor como un par de ecuaciones de álgebra lineal, relacionando las variables eléctricas (voltaje y corriente) con las variables mecánicas (fuerza y velocidad).[13] Estas ecuaciones pueden ser expresadas como una relación de matrices, de la misma forma que los parámetros z de un cuadripolo en la teoría eléctrica, a la cual es completamente análoga:
Donde V e I representan al voltaje y la corriente respectivamente en el lado eléctrico del transductor.
Wegel, en 1921, fue el primero en expresar estas ecuaciones en términos de la impedancia mecánica, así como en los de la impedancia eléctrica. El elemento es la impedancia mecánica del circuito abierto, es decir, la impedancia presente en el lado mecánico del transductor cuando no entra ninguna corriente en el lado eléctrico. El elemento , contrariamente, es la impedancia eléctrica restringida, la cual corresponde a aquella presente en el lado eléctrico cuando el lado mecánico está restringido y se previene el movimiento (la velocidad es igual a cero). Los dos elementos restantes, y , describen a las funciones de transferencia hacia adelante y hacia atrás respectivamente. Una vez que estas ideas fueron adoptadas, los ingenieros pudieron extender la teoría eléctrica hacia el dominio mecánico y analizar un sistema electromecánico como un todo unificado.[10][14]
Reproducción del sonido

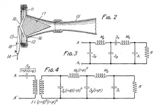
Una de las primeras aplicaciones de estas herramientas teóricas nuevas se utilizó en la reproducción del sonido fonográfico. Un problema recurrente con los primeros diseños de fonógrafos fue que las resonancias mecánicas en la pastilla y en el mecanismo de transmisión causaban crestas y valles excesivamente grandes en la respuesta de frecuencia, lo cual resultaba en una calidad de sonido baja. En 1923, Harrison de Western Electric Company registró una patente de un fonógrafo en el cual el diseño mecánico se encontraba completamente representado como un circuito eléctrico. La bocina de un fonógrafo se representa como una línea de transmisión, transformándose en una carga resistiva para el resto del circuito, mientras que las partes mecánicas y acústicas (desde la aguja de la pastilla hasta la bocina) son traducidas como elementos agrupados de acuerdo con la analogía de la impedancia. El circuito obtenido consiste en una tipología de escalera de una serie de circuitos resonantes acoplados por medio de capacitores en paralelo. Esto puede ser considerado como el circuito de un filtro paso banda.Harrison diseñó a los valores de los componentes para que tuvieran una banda de paso correspondiente con la del audio deseado (en este caso de 100 Hz a 6 kHz), así como una respuesta de frecuencia plana. Al traducir estos valores de los elementos eléctricos a las magnitudes mecánicas se proporcionaron las especificaciones para los componentes mecánicos en términos de la masa y la rigidez, lo cual también pudo ser traducido a las dimensiones físicas para su manufactura. El fonógrafo resultante tenía una respuesta de frecuencia plana en su banda de paso, además de ser libre de las resonancias experimentadas previamente.[15] Poco tiempo después, Harrison registró otra patente usando la misma metodología en los transductores de transmisión y recepción en el teléfono.[16]

Harrison utilizó la teoría del filtro de K constante de George Ashley Campbell, la cual era la más avanzada de aquella época. En esta teoría, el diseño de filtros es visto esencialmente como un problema de adaptación de impedancias.[17] Se le dio validez a teoría de filtros más avanzada para este problema por Norton en 1929 en los Laboratorios Bell. Norton siguió el mismo acercamiento general, aunque él mismo le describió su propio filtro a Sidney Darlington como " totalmente plano".[1] El diseño mecánico de Norton sacó provecho de la investigación de Stephen Butterworth, el cual es usualmente acreditado como el primero en describir el filtro electrónico totalmente plano.[18] Las ecuaciones que Norton da para su filtro corresponden a un filtro de Butterworth con una sola terminal, es decir, uno alimentado por una fuente ideal de voltaje con ninguna impedancia, mientras que la forma más frecuente en los textos es para el filtro con doble terminal con resistores en ambas, haciendo el diseño difícil de reconocer por lo que es.[19] Otra característica inusual del diseño de filtros de Norton surge del capacitor en serie, el cual representa la rigidez del diafragma. Este es el único capacitor en la representación de Norton, y sin ella el filtro podría ser analizado como un prototipo de filtro paso bajo. Norton mueve el capacitor fuera del cuerpo del filtro a la entrada, a expensas de introducir un transformador en un circuito equivalente (firgura 4 de Norton). Norton utilizó aquí la transformación de impedancia de "girar la L" para lograr esto.[20]
La descripción definitiva del tema de este periodo es el artículo de Maxfield y Harrison de 1926. En este, ellos describen no solamente como los filtros mecánicos paso banda pueden ser aplicados a los sistemas de reproducción de sonido, sino también como aplicar los mismos principios a los sistemas de grabación y describir una cabeza de corte de disco mejorada.[21][22]
Producción en masa
La primera producción en masa de los filtros mecánicos fue emprendida por la compañía Rockwell Collins, Inc., comenzando en los años 50. Estos fueron diseñados originalmente para aplicaciones de telefonía con multiplexación por división de frecuencia, en las cuales existía una ventaja comercial al utilizar filtros de alta calidad. La precisión y la gran pendiente de la banda de transición lleva a un ancho reducido de la banda de seguridad (aquella en la cual no hay energía proveniente de ninguna señal), lo cual al final lleva a la habilidad de utilizar más canales telefónicos en un mismo cable. Esta característica es útil en los transmisores de radio debido a la misma razón. Los filtros mecánicos rápidamente encontraron popularidad en las etapas de frecuencia (IF) intermedia de radio VHF/UHF de equipos de radio de gama alta (militares, marinos, de radioaficionado, etc.) manufacturados por Collins. Ellos fueron favorecidos en el desarrollo de aplicaciones de radio porque podían lograr factores de calidad mucho más altos que los filtros LC equivalentes. El factor de calidad alto le permite a los filtros ser diseñados que tengan mayor selectividad, importante para la distinción de canales de radio adyacentes en los receptores. Estos también tuvieron una ventaja en estabilidad tanto sobre filtros LC como sobre filtros de cristal monolíticos. El diseño más popular para las aplicaciones de radio fueron los resonadores torsionales, ya que la frecuencia intermedia se encuentra típicamente en la banda de los 100 a 500 kHz.[23][24]
Transductores

En los filtros mecánicos se utilizan tanto transductores piezoeléctricos como transductores de magnetostricción. Los transductores piezoeléctricos son preferidos en los diseños más recientes, ya que el material piezoeléctrico también puede ser utilizado como resonador del filtro, reduciendo de esta manera el número de componentes y salvando espacio al mismo tiempo. Estos también evitan la susceptibilidad de campos magnéticos extraños que aparecen en los transductores de magnetostricción.[25]
Magnetostricción
Un material magnetostrictivo es aquel que cambia de forma cuando un campo magnético es aplicado. Por otro lado, este produce un campo magnético cuando es deformado. El transductor magnetostrictivo requiere de una bobina de cable conductor alrededor del material magnetostrictivo. La bobina induce un campo magnético en el transductor y lo pone en movimiento, o también puede adquirir una corriente inducida del movimiento del transductor en la salida del filtro. También es usualmente necesario tener un pequeño imán para polarizar el material magnetostrictivo en su rango de operación. Es posible prescindir de los imanes si la polarización se lleva a cabo en el lado electrónico por medio de corriente directa superpuesta en la señal, aunque este acercamiento detraería la generalidad del diseño del filtro.[26]
Los materiales magnetostrictivos comunes utilizados para el transductor son la ferrita o el hierro comprimido en polvo. Los diseños de filtros mecánicos a menudo tienen los resonadores unidos con acero o cables de níquel-hierro pero, en algunos diseños, especialmente en los más antiguos, el cable de níquel puede ser usado para las barras de entrada y de salida. Esto sucede porque es posible enrollar la bobina del transductor directamente en un alambre de acoplamiento, ya que el níquel es ligeramente magnetostrictivo. Sin embargo, no es tan fuerte la unión, por lo cual el acoplamiento al circuito eléctrico es débil. Este esquema también tiene la desventaja de la corriente de Foucault, un problema que es evitado si las ferrits son utilizadas en vez del níquel.[26]
La bobina del transductor añade algo de inductancia en el lado eléctrico del filtro. Es una práctica común añadir un capacitor en paralelo con la bobina, a fin de que un resonador adicional se forme, el cual puede ser incorporado en el diseño del filtro. Mientras que esto no mejora el rendimiento al mismo grado que un resonador mecánico adicional lo haría, existe cierto beneficio y la bobina tiene que estar ahí en cualquier caso.[27]
Piezoelectricidad
Un material piezoeléctrico es aquel que cambia de forma cuando se aplica un campo eléctrico. En dirección contraria, este produce un campo eléctrico cuando es deformado. Un transductor piezoeléctrico, en esencia, es hecho de manera simple al ser recubierto de electrodos en el material piezoeléctrico. Los primeros materiales piezoeléctricos utilizados en los transductores, tales como el titanato de bario, tenían muy poca estabilidad en la temperatura. Esto evitaba que el transductor funcionara como uno de los resonadores; tenía que ser un componente separado. Este problema fue resuelto con la introducción del titanato zirconato de plomo (abreviado PZT), el cual es suficientemente estable como para ser usado como resonador. Otro material piezoeléctrico común es el cuarzo, el cual ha sido utilizado en los filtros mecánicos. Sin embargo, los materiales cerámicos como el PZT son preferidos por su gran coeficiente de acoplamiento electromecánico.[28]
Un tipo de transductor piezoeléctrico es el de tipo Langevin, nombrado así por un transductor usado por Paul Langevin en sus primeras investigaciones sobre el sonar. Este es adecuado para los modos longitudinales de vibración. También puede ser utilizado en resonadores con otros modos de vibración, siempre y cuando el movimiento pueda ser convertido mecánicamente en un movimiento longitudinal. El transductor consiste de una capa de material piezoeléctrico colocado en medio (de manera transversal) de una barra de acoplamiento y un resonador.[29]
Otra clase de transductor piezoeléctrico es el que usualmente tiene el material en medio (de manera longitudinal) del resonador mismo. Este tipo es útil para los modos de vibración torsional, por lo que se llama transductor torsional.[30]
Resonadores
| Material | Q-factor |
|---|---|
| Níquel | Varios cientos (100)[31] |
| Acero | muchos miles (1000)[31] |
| Aluminio | ~10,000[31] |
| Aleación níquel-hierro | De 10,000 a 25,000, dependiendo de la composición[32] |
Es posible lograr un factor de calidad extremadamente alto por medio de resonadores mecánicos. Los resonadores mecánicos tienen típicamente uno de 10,000 u otro valor similar, y se puede lograr un valor de 25,000 en los resonadores torsionales usando una aleación particular de níquel-hierro. Esto corresponde a una cifra poco razonable para los circuitos LC, cuyos factores se encuentran limitados por la resistencia de los inductores.[26][32][33]
Los primeros diseños de los años 40 y 50 comenzaron a usar el acero como material resonador. Esto ha dado paso a las aleaciones de níquel-hierro, principalmente para maximizar la Q, dado que esta es frecuentemente el más grande atractivo de los filtros mecánicos, en vez de los precios. Algunos de los metales que han sido utilizados como resonadores de filtros mecánicos y sus factores de calidad correspondientes se muestran en la tabla.[32]
Los cristales piezoeléctricos también son a veces usados en los diseños de los filtros mecánicos. Estos es especialmente cierto para los resonadores que actúan también como transductores de entrada y de salida.[32]
Una ventaja que tienen los filtros mecánicos sobre los filtros eléctricos con circuitos LC es que aquellos pueden ser muy estables. La frecuencia de resonancia puede llegar a ser tan estable, de tal forma que ésta varíe solo por 1.5 partes por billón (ppb) del valor especificado sobre el rango de temperatura de operación (−25 to 85 °C), mientras que su desvío promedio puede ser tan bajo como 4 ppb por día.[34] Dicha estabilidad con la temperatura es una razón para usar el níquel-hierro como material resonador. Las variaciones de la frecuencia de resonancia de acuerdo a la temperatura (y de otras cualidades de la función de frecuencia) se encuentran directamente relacionadas con las variaciones en el módulo de Young, el cual es una medida de la rigidez del material. Por tanto, los materiales son elegidos de acuerdo con el coeficiente de temperatura del módulo de Young. En general, el módulo de Young tiene un coeficiente de temperatura negativo (los materiales se hacen menos rígidos con un incremento en la temperatura), pero las adiciones de pequeñas cantidades de ciertos elementos en la aleación[n 2] pueden producir un material con un coeficiente de temperatura que cambie el signo negativo, pasando por el cero o incluso llegando a ser positivo con la temperatura. Tal material tendrá un coeficiente de temperatura igual a cero, con una frecuencia de resonancia alrededor de una temperatura en particular. Es posible ajustar el punto de coeficiente de temperatura cero a cierta posición deseada, por medio del tratamiento de la aleación.[33][35][36][37]
Modos del resonador

A menudo es posible que una parte mecánica vibre en un número diferente de modos; sin embargo, el diseño se basará en un modo de vibración particular y el diseñador tomará las medidas para intentar restringir la resonancia a este único modo. Así como el modo longitudinal sencillo, algunos otros de uso común incluyen al modo flexión, el modo torsional, el modo radial y el modo de vibración de membrana circular.[38][39]
Los modos se numeran de acuerdo al número de mitades de longitud de onda presentes en la vibración. Algunos modos exhiben vibraciones en más de una dirección (tales como en las membranas circulares, en las cuales hay dos), por lo cual el número de modo consiste de más de un número. Cuando la vibración sucede en uno de los modos superiores, habrán múltiples nodos en el resonador en los cuales no hay movimiento. Para algunos tipos de resonador, esto puede proveer un lugar conveniente para hacer un acoplamiento para soporte estructural. Los cables unidos en los nodos no tendrán efecto en la vibración del resonador o la respuesta total del filtro. En la figura 5, algunos puntos de anclaje se muestran en forma de cables acoplados a los nodos. Los modos son: 5a, el segundo modo longitudinal fijo de uno de los lados; 5b, el primer modo torsional; 5c, el segundo modo torsional; 5d, el segundo modo flexional; 5e, el primer modo de expansión radial y 5f, el primer modo de vibración de membrana circular radialmente simétrico.[33]
Diseño de circuitos





Existe una gran cantidad de combinaciones de resonadores y transductores que pueden ser usadas para construir un filtro mecánico. Una selección de algunos de estos se muestra en los diagramas. La figura 6 muestra un filtro que usa resonadores de flexión en disco y transductores magnetostrictivos. El transductor mueve el centro del primer resonador, causando una vibración en él. Los bordes del disco mueven en antifase al centro cuando la señal se encuentra en o cerca de la resonancia, mientras que ésta se transmite a través de las barras de conexión hacia el siguiente resonado. Cuando la señal no se encuentra cerca de la resonancia, existe poco movimiento en los bordes, y el filtro rechaza (no pasa) la señal.[40] La figura 7 muestra una idea similar que involucra a resonadores longitudinales conectados entre ellos en una cadena, por medio de barras de conexión. En este diagrama, el filtro es alimentado por transductores piezoeléctricos. Este podría igualmente haber utilizado transductores magnetostrictivos.[30] La figura 8 muestra un filtro que utiliza resonadores torsionales. En este diagrama, la entrada tiene un transductor piezoeléctrico torsional y la salida tiene un transductor magnetostrictivo. Este sería poco usaul en un diseño real, ya que la entrada y salida usualmente tienen el mismo tipo de transductor. El transductor magnetostritivo es solamente mostrado aquí para demostrar como las vibraciones longitudinales pueden ser convertidas a vibraciones torsionales y viceversa.[30][38][41] La figura 9 muestra un filtro que utiliza resonadores con modos de membrana circular. Los bordes de los discos se encuentran fijos al contenedor del filtro(no mostrado en el diagrama), con el fin de que la vibración del disco se encuentre en los mismos modos que la membrana de un tambor. Collins llama a este tipo de filtro con el nombre de filtro de cable de disco.[38]
Cada uno de los distintos tipos de resonadores son particularmente ajustados a diferentes bandas de frecuencia. En general, los filtros mecánicos con elementos concentrados de todas las clases pueden cubrir frecuencias que van desde los 5 hasta los 700 kHz, si bien aquellos tan bajos como de unos cuantos kilohertz (kHz) son raros.[26] La parte más baja de este rango, debajo de los 100 kHz, es cubierta de mejor manera con los resonadores de flexión con barra. La parte superior es mejor manejada por medio de resonadores torsionales.[38] Los resonadores de discos en forma de membrana se encuentran en medio, cubriendo el rango de los 100 a los 300 kHz.[40]
El comportamiento en la respuesta de frecuencia de todos los filtros mecánicos puede ser expresado por medio de un circuito eléctrico equivalente, uando la analogía de la impedancia descrita previamente. Un ejemplo de esto se muestra en la figura 8b, la cual es el circuito equivalente del filtro mecánico de la figura 8a. Los elementos del lado eléctrico, tales como la inductancia del transductor magnetostrictivo, son omitidos pero serían tomados en cuenta en un diseño completo. La serie de circuitos resonantes en el diagrama representan a los resonadores torsionales, y los capacitores en paralelo representan a los alambres o barras de conexión. Los valores de los componentes del circuito equivalente pueden ser ajustados más o menos a voluntad, al modificar las dimensiones de los componentes mecánicos. De esta forma, todas las herramientas teóricas del análisis eléctrico y diseño de filtros pueden ser hechas válidas en el diseño mecánico. Cualquier filtro realizable en la teoría eléctrica puede, en principio, también ser realizable en un filtro mecánico. En particular, la popular aproximación de elementos finitos para una respuesta ideal de filtro, tanto la de Butterworth como de Chevyshev, pueden ser fácilmente realizadas. Con respecto a la contraparte eléctrica, entre más elementos se usen mayor se acercará la aproximación a lo ideal; sin embargo, por razones prácticas el número de resonadores normalmente no excede los ocho.[40][42]
Diseños semiconcentrados


Las frecuencias del orden de los megahertz (MHz) se encuentran por encima del rango usual de los filtros mecánicos. Los componentes comienzan a hacerse muy pequeños o, alternativamente, los componentes son muy largo en comparación con la longitud de onda. El circuito de parámetros concentrados descrito antes comienza a desglosarse y los componentes deben considerarse como elementos distribuidos. La frecuencia en la cual la transición de modelo concentrado ha distribuido toma lugar es mucho más baja para los filtros mecánicos que para sus contrapartes eléctricas. Esto sucede porque las vibraciones mecánicas viajan a la velocidad del sonido del material del que está hecho el componente. Para los componentes sólidos, esto es varias veces (x15 para el níquel-hierro) la velocidad del sonido en el aire (343 m/s), si bien es aún considerablemente menor que la velocidad de las ondas electromagnéticas (aproximadamente 3x108 m/s en el vacío). Consecuentemente, las longitudes de onda mecánicas son mucho más cortas que las longitudes de onda eléctricas para la misma frecuencia. Puede sacarse provecho de estos efectos al diseñar deliberadamente componentes para pertenecer a un modelo distribuido, por lo cual los componentes y métodos usados en los filtros de elementos distribuidos se hacen válidos. Los equivalentes de los stubs (fragmentos de líneas de transmisión) y los transformadores de impedancia son alcanzables. Los diseños que usan una mezcla de elementos distribuidos y concentrados se conocen como semiconcentrados.[43]
Un ejemplo de dicho diseño se muestra en la figura 10a. Los resonadores son discos flexibles similares a los de la figura, excepto que estos se encuentran energizados desde un borde, llevando a la vibración en el segundo modo flexional a la resonancia. Los resonadores se encuentran mecánicamente adjuntos al contenedor por medio en pivotes con ángulos rectos con respecto a los alambres o barras de acoplamiento. Los pivotes se encuentran ahí para asegurar el libre giro del resonador y así minimizar las pérdidas. Los resonadores son tratados como elementos concentrados; sin embargo, los alambres de acoplamiento son hechos con exactamente la mitad de la longitud de onda (λ/2) de largo, además de que son equivalentes a un stub de circuito abierto de λ/2 en el equivalente eléctrico. Para un filtro de banda estrecha, un stub de esta clase tiene el circuito equivalente aproximado de un circuito afinado con malla en paralelo, como se muestra en la figura 10b. Consecuentemente, los cables de acoplamiento son usados en este diseño para añadir resonadores adicionales en el circuito, por lo cual tendrán una mejor respuesta que uno con el resonador concentrado y acoplamientos cortos.[43] Para frecuencias incluso más altas, se pueden usar métodos microelectromecánicos como el descrito a continuación.
Alambres de puenteo
Los alambres de puenteo son barras que unen resonadores que no se encuentran adyacentes. Estos pueden ser usados para producir polos de atenuación en la banda de detención (aquella en la cual el filtro no deja pasar señal). Esto tiene el beneficio de incrementar el rechazo en dicha banda. Cuando el polo es colocado cerca del eje del borde de la banda de paso, también tiene la ventaja de incrementar el declive de la señal (roll-off en inglés) y hacer más estrecha la banda de transición. Los efectos típicos de algunos de estos en la respuesta de frecuencia se muestran en la figura 11. El puenteo a través de un resonador simple (figura 11b) puede producir un polo de atenuación en la banda de detención superior. El puenteo en dos resonadores (figura 11c) puede producir un polo de atenuación tanto en la banda superior como en la inferior. El uso de múltiples puentes (figura 11d) resultará en múltiples polos de atenuación. De esta forma, la atenuación de las bandas de detención pueden ser hacerse más profundas en un rango de frecuencia amplio.[44]

El método de acoplamiento entre los resonadores no adyacentes no está limitado a los filtros mecánicos. También puede ser aplicado a otro tipo de filtros; el término general para este caso es filtro de acoplamiento cruzado. Por ejemplo, los canales pueden ser cortados entre cavidades resonantes, la inductancia mutuahpuede ser utilizada con filtros de componentes discretos, así como también las trayectorias de retroalimentación pueden ser usadas con filtros analógicos o digitales. El método no fue descubierto por primera vez en el campo de los filtros mecánicos; la primera descripción se encuentra en una patente de 1948 para filtros que usaban cavidades resonantes de microndas.[45] Sin embargo, los diseñadores de filtros mecánicos fueron los primeros (1960) en desarrollar filtros prácticos de este tipo y el método se convirtió en una característica particular de los filtros mecánicos.[46]
Filtros microelectromecánicos

Una nueva tecnología emergente en filtros mecánicos es el Sistemas microelectromecánicos (MEMS por sus siglas en inglés). Los MEMS son micromáquinas con componentes cuyo tamaño se puede medir en micrómetros (μm), si bien no son tan pequeñas como las nanomáquinas. Estos sistemas son principalmente fabricados con silicio (Si), nitruro de silicio (Si3N4), o polímeros. Un componente común utilizado para la filtración en radiofrecuencia (y otras aplicaciones de MEMS en general) es el resonador de voladizo. Los voladizos son componentes mecánicos simples manufacturados por muchos de los mismos métodos usados en la industria de los semiconductores; la cubierta, la fotolitografía y el grabado al agua fuerte, con un grabado hecho con un corte interno para separar el voladizo del sustrato. La tecnología promete mucho, dado que los voladizos pueden ser producidos en gran número y colocados en un solo sustrato individual (grandes números de transistores se encuentran actualmente contenidos en un chip de silicio sencillo.[47]
El resonador mostrado en la figura 12 es de aproximadamente 120 μm de longitud. Filtros experimentales completos con una frecuencia de operación de 30 GHz han sido producidos usando voladizos de Diodos Varicap como elementos resonadores. El tamaño de este filtro se encuentra cerca de los 4×3.5 mm.[48] Los resonadores de voladizo se utilizan típicamente en frecuencias menores a los 200 MHz, aunque otras estructuras, tales como las cavidades de micromáquinas, pueden ser utilizadas en bandas de microondas.[49] Resonadores con factor de calidad extremo pueden ser fabricados con esta tecnología; resonadores de modos flexionales con una Q que sobrepasa el valor 80,000 en los 8 MHz han sido reportados.[50]
Ajustes
Las aplicaciones de precisión en las cuales los filtros mecánicos son usados requieren que los resonadores sean exactamente ajustados a la frecuencia de resonancia específica. Esto se conoce como recorte, y usualmente involucra un proceso de mecanización. En la mayoría de los diseños de filtros, esto puede ser difícil de llevar a cabo una vez que los resonadores han sido ensamblados en el filtro completo, por lo cual son ajustados antes de su ensamblaje. El recorte es hecho en por lo menos dos etapas; el bruto y el fino, cada etapa acercando la frecuencia de resonancia a su valor específico. La mayoría de los métodos de recorte involucran la eliminación del material del resonador, lo cual incrementa la frecuencia de resonancia. La frecuencia específica para la etapa de corte en bruto necesita el ajuste debajo de la frecuencia final, dado que la tolerancia de fabricación del proceso podría de otra manera terminar en una frecuencia más alta de la que la siguiente etapa de corte fino podría ajustar.[51][52]
El método más tosco de recorte es el afilado de la superficie resonante principal del resonador; este proceso tiene una precisión de alrededor de ±800 ppm. Un mejor control puede ser logrado por medio del afilado del filo del resonador en vez de la superficie principal. Esto tiene un efecto menos dramático, y consecuentemente más preciso. Los procesos que pueden ser usados para el recorte, a fin de incrementar la precisión son el arenado, la perforación y la ablación láser. El recorte con láser es capaz de lograr una precisión de ±40 ppm.[52][53]
El recorte con mano, en vez de máquina, fue utilizado en algunos componentes de las primeras producción, aunque actualmente se encuentra solo durante el desarrollo del producto. Los métodos disponibles incluyen al lijado y el limado. También es posible añadir material al resonador con la mano, reduciendo así la frecuencia de resonancia. Uno de dichos métodos es agregar soldadura, pero esto no es adecuado para el uso en la producción, dado que la soldadura tenderá a reducir el factor de calidad del resonador.[51]
En el caso de los filtros MEMS, no es posible recortar los resonadores fuera del filtro, dada la naturaleza integradora de la construcción del dispositivo. Sin embargo, el recorte es todavía un requerimiento en muchas aplicaciones de MEMS. La ablación láser puede ser usada para esto, pero métodos de deposición de material se encuentran disponibles, así como la eliminación del mismo. Estos métodos incluyen a la deposición por pulsos de láser o por rayo de iones.[54]
Véase también
Notas
- ↑ Ernest Mercadier artículo de Wikipedia en francés
- ↑ Véase, por ejemplo,"Thermelast 4002" Archivado el 16 de septiembre de 2016 en Wayback Machine., un ejemplo patentado de tal aleación, consultado8 April 2010. (in German). La primera aleación en ser descubierta con esta propiedad fue el Elinvar, por el cual junto al Invar, Charles Edouard Guillaume recibió el premio Nobel en 1920. La aplicación original fue para la compensación de temperatura de los instrumentos científicos de medición, relojes y cronómetros marinos (Gould, p.201.)
Referencias
- ↑ a b Darlington, p.7.
- ↑ Norton, pp.1–2.
- ↑ Talbot-Smith, pp.1.85,1.86.
- ↑ Taylor & Huang, pp.378–379
- ↑ Eargle, pp.4–5.
- ↑ Talbot-Smith, pp.1.86–1.98, for instance.
- ↑ a b Norton, p.1.
- ↑ a b Lundheim, p.24.
- ↑ a b Blanchard, p.425.
- ↑ a b Hunt, p.66.
- ↑ Hunt, p.110.
- ↑ Pierce, p.321 cites
F. A. Firestone, "A new analogy between mechanical and electrical systems", Journal of the Acoustical Society of America, vol.4, pp.249–267 (1932–1933). - ↑ Pierce, p.200 cites
H. Poincaré. "Study of telephonic reception", Eclairage Electrique, vol.50, pp.221–372, 1907. - ↑ Pierce, p.200 cites;
R. L. Wegel, "Theory of magneto-mechanical systems as applied to telephone receivers and similar structures", Journal of the American Institute of Electrical Engineers, vol.40, pp.791–802, 1921. - ↑ Harrison, 1929.
- ↑ Harrison, 1930.
- ↑ Harrison, 1929, p.2.
- ↑ S. Butterworth, "On the Theory of Filter Amplifiers", Wireless Engineer, vol. 7, 1930, pp. 536–541
- ↑ cf. Norton, p.3 with Matthaei, pp.104–107.
- ↑ Norton, 1930.
- ↑ Taylor & Huang, p.360.
- ↑ Hunt, p.68 cites
J.P. Maxfield and H.C. Harrison, "Methods of high quality recording and reproducing of music and speech based on telephone research", Bell Systems Technical Journal, vol 5, pp.493–523, 1926. - ↑ Taylor & Huang, p.359.
- ↑ Carr, pp.54–55.
- ↑ Taylor & Huang, p.387.
- ↑ a b c d Carr, pp.170–172.
- ↑ Mason, c.2, l.14–17.
- ↑ Rosen et al., pp.290–291, 331.
- ↑ Rosen et al., pp.293–296, 302.
- ↑ a b c Rosen et al., p.302.
- ↑ a b c George, col.1.
- ↑ a b c d Lin et al., p.286.
- ↑ a b c Taylor & Huang, p.380.
- ↑ Carr, p.171.
- ↑ Manfred Börner, Jürgen Spizner, "Mechanical frequency filter with additional coupling to increase slope of damping rise", col.4, Patente USPTO n.º 3445792, filed 28 June 1963, issued 20 May 1969.
- ↑ Alfhart Günther, "Method for aligning mechanical filters", col.2, Patente USPTO n.º 3798077, filed 24 September 1971, issued 19 March 1974.
- ↑ Schneider, Wolfgang; Thomas, Hans (1979). «Constant modulus alloys for mechanical oscillators». Metallurgical Transactions A 10 (4): 433. Bibcode:1979MTA....10..433S. doi:10.1007/BF02697070.
- ↑ a b c d Rockwell-Collins, "How mechanical filters work"
- ↑ Taylor & Huang, pp.392–393.
- ↑ Taylor & Huang, p.379.
- ↑ Rockwell-Collins, "Mechanical filter application notes"
- ↑ a b Mason.
- ↑ Taylor & Huang, p.361.
- ↑ J. R. Pierce, "Guided-wave frequency range transducer," U.S. Patent 2,626,990, filed 4 May 1948, issued 27 January 1953.
- ↑ Levy and Cohn, pp.1060–1061.
- ↑ de los Santos, pp.167–183.
- ↑ de los Santos, p.169.
- ↑ de los Santos, p.167.
- ↑ de los Santos, p.171.
- ↑ a b Johnson, 1983, p.245.
- ↑ a b Kasai et al., cols.1–2
- ↑ Johnson, 1983, pp.245–246.
- ↑ Lin et al., p.293.
Bibliografía
- Blanchard, J. "The history of electrical resonance", Bell System Technical Journal, vol.23, pp. 415–433, 1944.
- Bureau of Naval Personnel, Basic Electronics: Rate Training Manual, New York: Courier Dover Publications, 1973 ISBN 0-486-21076-6.
- Carr, Joseph J. RF Components and Circuits, Oxford: Newnes, 2002 ISBN 0-7506-4844-9.
- Darlington, S. "A history of network synthesis and filter theory for circuits composed of resistors, inductors, and capacitors", IEEE Transactions: Circuits and Systems, vol 31, pp. 3–13, 1984 doi 10.1109/TCS.1984.1085415.
- Eargle, John Loudspeaker Handbook, Boston: Kluwer Academic Publishers, 2003 ISBN 1-4020-7584-7.
- Gatti, Paolo L.; Ferrari, Vittorio, Applied Structural and Mechanical Vibrations: Theory, Methods, and Measuring Instrumentation, London: Taylor & Francis, 1999 ISBN 0-419-22710-5.
- George, R. W. "Mechanically resonant filter devices", Patente USPTO n.º 2762985, filed 20th Sep 1952, issued 11th Sep 1956.
- Gould, Rupert T., The Marine Chronometer, London: Holland Press, 1960 OCLC 246850269.
- Harrison, Henry C., "Acoustic device", Patente USPTO n.º 1730425, filed 11 October 1927 (and in Germany 21 October 1923), issued 8 October 1929.
- Harrison, H. C. "Electromagnetic system", Patente USPTO n.º 1773082, filed 6 December 1923, issued 12 August 1930.
- Hunt, Frederick V. Electroacoustics: the Analysis of Transduction, and its Historical Background, Cambridge: Harvard University Press, 1954 OCLC 2042530.
- Johnson, R.A. "Electrical circuit models of disk-wire mechanical filters", IEEE Transactions: Sonics and Ultrasonics, vol.15, issue 1, January 1968, pp. 41–50, ISSN 0018-9537.
- Johnson, Robert A. Mechanical filters in electronics, New York: Wiley, 1983 ISBN 0-471-08919-2
- Kasai, Yoshihiko; Hayashi, Tsunenori, "Automatic frequency adjusting method for mechanical resonators", Patente USPTO n.º 4395849, filed 22 October 1980, issued 2 August 1983.
- Levy, R. Cohn, S.B., "A History of microwave filter research, design, and development", IEEE Transactions: Microwave Theory and Techniques, pp. 1055–1067, vol.32, issue 9, 1984.
- Lin, Liwei; Howe, Roger T.; Pisano, Albert P. "Microelectromechanical filters for signal processing", Journal of Microelectromechanical Systems,vol.7, No.3, 1998, p. 286
- Lundheim, L. "On Shannon and "Shannon's formula"", Telektronikk, vol. 98, no. 1, 2002, pp. 20–29.
- Mason, Warren P. "Electromechanical wave filter", Patente USPTO n.º 2981905, filed 20 August 1958, issued 25 April 1961.
- Matthaei, George L.; Young, Leo; Jones, E. M. T. Microwave Filters, Impedance-Matching Networks, and Coupling Structures, New York: McGraw-Hill 1964 OCLC 282667.
- Norton, Edward L. "Sound reproducer", Patente USPTO n.º 1792655, filed 31 May 1929, issued 17 February 1931.
- Pierce, Allan D. Acoustics: an Introduction to its Physical Principles and Applications, New York: Acoustical Society of America 1989 ISBN 0-88318-612-8.
- Rosen, Carol Zwick; Hiremath, Basavaraj V.; Newnham, Robert Everest (eds) Piezoelectricity, New York: American Institute of Physics, 1992 ISBN 0-88318-647-0.
- de los Santos, Héctor J. RF MEMS Circuit Design for Wireless Communications, Boston: Artech House, 2002 ISBN 1-58053-329-9.
- Talbot-Smith, Michael Audio Engineer's Reference Book, Oxford: Focal Press, 2001 ISBN 0-240-51685-0.
- Taylor, John T.; Huang, Qiuting CRC Handbook of Electrical Filters, Boca Raton: CRC Press, 1997 ISBN 0-8493-8951-8.