Válvula de Tesla


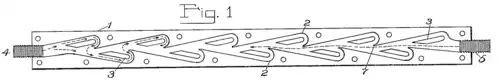
La figura superior muestra el flujo en la dirección de bloqueo: en cada segmento, parte del líquido gira (rojo) e interfiere con el flujo de avance (negro).
La figura inferior muestra el flujo en la dirección sin obstáculos (azul).
La válvula de Tesla es un tipo de válvula que permite que un fluido pueda pasar a través de ella muy preferentemente (o completamente) en una dirección, pero sin necesidad de partes móviles, como generalmente suelen llevar las válvulas que hacen el mismo trabajo. Recibe el nombre de su inventor Nikola Tesla, que la inventó en 1916 y la patentó en 1920 (Patente de los EE. UU. 1.329.559).[1]
Funcionamiento
El principio de funcionamiento es que, en un sentido y por el efecto Coanda, se producen unas corrientes que fluyen a lo largo de diferentes rutas en distintas direcciones, y se anulan entre sí. En cambio, en sentido contrario, el flujo es directo, porque estas corrientes opuestas no existen y la válvula no presenta ninguna resistencia al flujo en ese sentido.[2]
En la práctica, la idea ha tenido muy poco desarrollo (o uso) desde su invención. Un principio similar se utiliza en el mezclador de efecto Coanda para mezclar líquidos a pequeña escala, mediante el uso de la idea de Nikola Tesla.[3]
Diodicidad
Las válvulas son estructuras que tienen una mayor caída de presión para el flujo en una dirección (inversa) que en la otra (avance). Esta diferencia en la resistencia al flujo provoca una corriente de dirección neta en el sentido hacia adelante en los flujos oscilantes. Su eficacia se expresa a menudo en diodicidad , siendo la relación de las caídas de presión para caudales idénticos:[4]
donde es la caída de presión del flujo inverso y la caída de presión de flujo directo para el caudal .
Véase también
Referencias
- ↑ Patente 1.329.559 de la válvula de Tesla
- ↑ Simulación y Optimización de Válvulas de Tesla
- ↑ patente original de Nikola Tesla
- ↑ de Vries; Florea; Homburg; Frijns. «Design and operation of a tesla-type valve for pulsating heat pipes». International Journal of Heat and Mass Transfer. doi:10.1016/j.ijheatmasstransfer.2016.09.062.
Enlaces externos
- "Simulation and Optimization of Tesla Valves", T-Q Truong and N-T Nguyen, Nanotech 2003 Vol. 1 Technical Proceedings of the 2003 Nanotechnology Conference and Trade Show, Volume 1 ISBN 0-9728422-0-9