Unión de orbitales moleculares
El enlace orbital se usa en la teoría de los orbitales moleculares (MO) para describir las interacciones atractivas entre los orbitales atómicos de dos o más átomos en una molécula. En la teoría del MO, se describe que los electrones se mueven en ondas.[1] Cuando más de una de estas ondas se acercan, la combinación en fase de estas ondas produce una interacción que conduce a una especie muy estabilizada. El resultado de la interferencia constructiva de las ondas hace que la densidad de los electrones se encuentre dentro de la región de unión, creando un vínculo estable entre las dos especies.[2]
Moléculas diatómicas

En el ejemplo clásico del , los dos átomos de separados tienen orbitales atómicos idénticos. Al crear la molécula de dihidrógeno, los orbitales de valencia individuales, 1s, ya sea: se fusionan en fase para obtener orbitales de enlace, donde la densidad de electrones se encuentra entre los núcleos de los átomos; o fusionarse fuera de fase para obtener orbitales antienlazantes, donde la densidad de electrones está en todas partes alrededor del átomo excepto en el espacio entre los núcleos de los dos átomos.[3] Los orbitales de enlace conducen a una especie más estable que cuando los dos hidrógenos son monoatómicos. Los orbitales anti-enlace son menos estables porque, con muy poca o ninguna densidad de electrones en el medio, los dos núcleos (que tienen la misma carga) se repelen entre sí. Por lo tanto, se necesitaría más energía para mantener los dos átomos juntos a través del orbital antienlazante. Cada electrón de valencia 1s del hidrógeno se unen para establecer una unión de estabilización orbital. Por lo tanto, el hidrógeno prefiere existir como molécula diatómica y no monoatómica.[4]

Al mirar el helio, el átomo contiene dos electrones en cada capa de valencia 1s. Cuando los dos orbitales atómicos se unen, primero llenan el orbital de enlace con dos electrones, pero a diferencia del hidrógeno, le quedan dos electrones, que luego deben ir al orbital antienlazante. La inestabilidad del orbital antienlazante anula el efecto estabilizador proporcionado por el orbital enlazante; por lo tanto, el orden de enlace del dihelio es 0. Esta es la razón por la que el helio preferiría ser monoatómico sobre diatómico.[5]
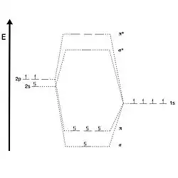
Moléculas poliatómicas

Unión de MO de enlaces pi
Los enlaces pi son creados por las interacciones "laterales" de los orbitales.[3] Una vez más, en los orbitales moleculares, los electrones pi (π) de enlace se producen cuando la interacción de los dos orbitales atómicos π están en fase. En este caso, la densidad electrónica de los orbitales π debe ser simétrica a lo largo del plano del espejo para crear la interacción de enlace. La asimetría a lo largo del plano del espejo conducirá a un nodo en ese plano y se describe en el orbital antienlazante, π*.

Un ejemplo de un MO de un sistema π conjugado simple es el butadieno. Para crear el MO para el butadieno, los orbitales π y π* resultantes del sistema descrito anteriormente interactuarán entre sí. Esta mezcla dará como resultado la creación de 4 orbitales de grupo (que también se pueden usar para describir el π MO de cualquier dieno):[3] π1 no contiene nodos verticales, π2 contiene uno y ambos se consideran orbitales de enlace; π3 contiene 2 nodos verticales, π4 contiene 3 y ambos se consideran orbitales antienlazantes.
Orbitales moleculares localizados

La forma esférica tridimensional de los orbitales s no tiene direccionalidad en el espacio y los orbitales px, py y p z están todos a 90° entre sí. Por lo tanto, para obtener orbitales correspondientes a enlaces químicos para describir reacciones químicas, Edmiston y Ruedenberg fueron pioneros en el desarrollo de procedimientos de localización.[6][7] Por ejemplo, en , los cuatro electrones de los orbitales 1s de los átomos de hidrógeno y los electrones de valencia del átomo de carbono (2 en s y 2 en p) ocupan los orbitales moleculares de enlace, σ y π. Los MO deslocalizados del átomo de carbono en la molécula de metano se pueden localizar para dar cuatro orbitales híbridos sp3.
Aplicaciones
Los orbitales moleculares y, más específicamente, el orbital de enlace es una teoría que se enseña en todas las diferentes áreas de la química, desde la orgánica hasta la física e incluso analítica, porque es de amplia aplicación. Los químicos orgánicos utilizan la teoría de los orbitales moleculares en su razonamiento de pensamiento para las reacciones;[8][9] los químicos analíticos lo utilizan en diferentes métodos de espectroscopia;[10][11] físicos químicos lo utilizan en los cálculos;[12] incluso se ve en la química de materiales a través de la teoría de bandas, una extensión de la teoría de los orbitales moleculares.[13]
Referencias
- ↑ Mulliken, Robert S. (1 de julio de 1932). «Electronic Structures of Polyatomic Molecules and Valence. II. General Considerations». Physical Review 41 (1): 49-71. doi:10.1103/PhysRev.41.49.
- ↑ Sannigrahi, A. B.; Kar, Tapas (1 de agosto de 1988). «Molecular orbital theory of bond order and valency». Journal of Chemical Education (en inglés) 65 (8): 674. ISSN 0021-9584. doi:10.1021/ed065p674.
- ↑ a b c Anslyn, Eric V; Dougherty, Dennis A (2006). Modern physical organic chemistry (en inglés). University Science Books. ISBN 978-1-891389-31-3. OCLC 55600610.
- ↑ Lennard-Jones, J. E. (1 de enero de 1929). «The electronic structure of some diatomic molecules». Transactions of the Faraday Society (en inglés) 25 (0): 668-686. ISSN 0014-7672. doi:10.1039/TF9292500668.
- ↑ Housecroft, Catherine E; Sharpe, A. G (2012). Inorganic chemistry (en inglés). Pearson. ISBN 978-0-273-74275-3. OCLC 775664094.
- ↑ Cohen, Irwin; Del Bene, Janet (1 de agosto de 1969). «Hybrid orbitals in molecular orbital theory». Journal of Chemical Education 46 (8): 487. ISSN 0021-9584. doi:10.1021/ed046p487.
- ↑ Edmiston, Clyde (1963). «Localized Atomic and Molecular Orbitals». Reviews of Modern Physics 35 (3): 457-464. doi:10.1103/revmodphys.35.457.
- ↑ Dannenberg, J. J. (12 de mayo de 1999). «Using Perturbation and Frontier Molecular Orbital Theory To Predict Diastereofacial Selectivity». Chemical Reviews 99 (5): 1225-1242. ISSN 0009-2665. doi:10.1021/cr980382f.
- ↑ Li, Yongjun; Jia, Zhiyu; Xiao, Shengqiang; Liu, Huibiao; Li, Yuliang (16 de mayo de 2016). «A method for controlling the synthesis of stable twisted two-dimensional conjugated molecules». Nature Communications (en inglés) 7: 11637. PMC 4873669. PMID 27181692. doi:10.1038/ncomms11637.
- ↑ Smith, Wendell F. (1963). «Application of molecular orbital theory to the electronic absorption spectra of schiff bases». Tetrahedron 19 (3): 445-454. doi:10.1016/s0040-4020(01)99192-6.
- ↑ Mulliken, Robert S. (7 de julio de 1967). «Spectroscopy, Molecular Orbitals, and Chemical Bonding». Science (en inglés) 157 (3784): 13-24. ISSN 0036-8075. PMID 5338306. doi:10.1126/science.157.3784.13.
- ↑ Gimarc, Benjamin M. (1974). «Applications of qualitative molecular orbital theory». Accounts of Chemical Research 7 (11): 384-392. doi:10.1021/ar50083a004.
- ↑ Brédas, J. L.; Calbert, J. P.; da Silva Filho, D. A.; Cornil, J. (30 de abril de 2002). «Organic semiconductors: A theoretical characterization of the basic parameters governing charge transport». Proceedings of the National Academy of Sciences 99 (9): 5804-5809. PMC 122857. PMID 11972059. doi:10.1073/pnas.092143399.