Termoelectricidad

Se denominan fenómenos termoeléctricos o termoelectricidad a tres fenómenos relacionados entre sí por las relaciones de Thomson, descubiertas por lord Kelvin:[1] el efecto Seebeck, el efecto Peltier y el efecto Thomson.
Cuando dos metales distintos a temperaturas diferentes se ponen en contacto formando una unión bimetálica, entre ambos lados de la unión se genera una fuerza electromotriz. Este fenómeno se denomina efecto Seebeck y es la base del funcionamiento de los termopares, un tipo de termómetro usado en el control del flujo de gas en dispositivos domésticos como cocinas, calefactores y calentadores de agua corriente.
Cuando se hace circular una corriente a través de una unión bimetálica, para mantener constante la temperatura de la unión hay que entregar o extraer calor, según sea el sentido de circulación. Este fenómeno, llamado efecto Peltier, tiene aplicación práctica en dispositivos de refrigeración pequeños, teniendo la ventaja, a diferencia de los refrigeradores basados en la compresión y descompresión de gases, de no tener partes móviles que se desgasten.
Es menos conocido el fenómeno denominado efecto Thomson, descubierto por William Thomson, lord Kelvin. Cuando fluye una corriente a través de un conductor homogéneo de sección transversal constante donde se ha establecido un gradiente de temperatura, para mantener invariable la distribución de temperatura hay que entregar o extraer calor del conductor.[2]
Aspectos históricos

El primer efecto termoeléctrico fue descubierto por el físico alemán Thomas Johann Seebeck en 1821. Seebeck se dio cuenta de que una aguja metálica es desviada cuando se le sitúa entre dos conductores de materiales distintos unidos por uno de sus extremos y sometidos a una diferencia de temperatura (véase Efecto Seebeck). Este efecto es de origen eléctrico, ya que al unir dos materiales distintos y someterlos a una diferencia de temperatura aparece una diferencia de potencial. La principal aplicación práctica del efecto Seebeck es la medida de temperatura mediante termopares.[3][4]
Unos años más tarde, en 1834, el físico francés Jean-Charles Peltier descubrió el segundo efecto termoeléctrico: en la unión de dos materiales diferentes sometidos a una corriente eléctrica aparece una diferencia de temperaturas (véase Efecto Peltier).
El físico inglés William Thomson (lord Kelvin) demuestra en 1851 que los efectos Seebeck y Peltier están relacionados: un material sometido a un gradiente de temperatura y recorrido por una corriente eléctrica intercambia calor con el medio exterior. Recíprocamente, un material sometido a un gradiente de temperatura y recorrido por un flujo de calor genera una corriente eléctrica. La diferencia fundamental entre los efectos Seebeck y Peltier considerados por separado y el efecto Thomson es la existencia de este último en un único material, sin necesidad de que exista una unión entre materiales distintos (véase Efecto Thomson).
Aplicaciones de la termoelectricidad
Las aplicaciones actuales y potenciales de los materiales termoeléctricos se basan en dos aspectos del efecto Thomson:
Por un lado, el establecimiento de un flujo de calor, opuesto a la difusión térmica, cuando un material sometido a un gradiente de temperatura es atravesado por una corriente eléctrica, permite pensar en aplicaciones de refrigeración termoeléctrica. Esta solución alternativa a la refrigeración clásica que utiliza ciclos de compresión-expansión no necesita de partes móviles, lo que incrementa su fiabilidad y elimina los ruidos y vibraciones. Estas propiedades son fundamentales en aplicaciones en las que la temperatura debe ser regulada de forma muy precisa y fiable, como por ejemplo en los contenedores empleados en el transporte de órganos para trasplantes o en aquellas en las que las vibraciones son un inconveniente grave, como por ejemplo: los sistemas de guía que emplean láser, o los circuitos integrados. Además, la posibilidad de crear un flujo térmico a partir de una corriente eléctrica de manera directa hace innecesario el empleo de gases como el freón, que resultan perjudiciales para la capa de ozono.
Por otra parte, la posibilidad de convertir un flujo de calor en corriente eléctrica permite aplicaciones de generación eléctrica mediante efecto termoeléctrico, sobre todo a partir de fuentes de calor residual como los tubos de escape de los automóviles, las chimeneas de los incineradores, los circuitos de refrigeración de las centrales nucleares. El uso de esta tecnología supondría en estos casos una mejora en el rendimiento energético del sistema completo de manera «limpia». El calor residual es aprovechado para obtener un mayor aprovechamiento de la energía. Por ejemplo: el empleo de la termoelectricidad en los automóviles permitiría suplir parcialmente el trabajo del alternador, reduciendo así aproximadamente en un 10% el consumo de combustible.[5]
Además, la gran fiabilidad y durabilidad de estos sistemas (gracias a la ausencia de partes móviles) ha motivado su empleo en la alimentación eléctrica de sondas espaciales, como ocurre en la sonda espacial Voyager, lanzada al espacio en 1977. En ella el flujo de calor establecido entre el material fisible PuO2 (el PuO2 es radiactivo y se desintegra, constituyendo entonces una fuente de calor) y el exterior atraviesa un sistema de conversión termoeléctrica a base de SiGe (un termopar de silicio y germanio), permitiendo de esta manera la alimentación eléctrica de la sonda (las sondas espaciales no pueden alimentarse mediante paneles solares más allá de Marte, ya que el flujo solar es demasiado débil). Véase el artículo Generador termoeléctrico de radioisótopos.
Como se verá a continuación, los sistemas de conversión que utilizan el efecto termoeléctrico tienen un rendimiento muy pequeño, ya sea generando electricidad o funcionando como refrigeradores. De momento sus aplicaciones están limitadas a sectores comerciales en los que la fiabilidad y la durabilidad son más importantes que el precio, como puedan ser productos generados por electrosoldadura como las rejillas electrosoldadas utilizadas en suelos de plataformas petrolíferas o en industria. Sin embargo la termoelectricidad fue utilizada extensamente en las partes alejadas de la Unión Soviética durante la década de 1920 para accionar radios. El equipo utilizaba barras de bimetal, un extremo de las cuales se insertaba en la chimenea para conseguir calor, y el otro extremo se ponía en el exterior, en el frío.
Principios fundamentales
La conversión de energía por efecto termoeléctrico (en el sentido calor → electricidad o electricidad → calor) se basa a su vez en los efectos Seebeck, Peltier y Thomson.
Breve apunte sobre los coeficientes Seebeck, Peltier y Thomson
- Coeficiente Seebeck. Una diferencia de temperatura dT entre las uniones de dos materiales distintos a y b implica una diferencia de potencial eléctrico dV, según la ecuación:
- El coeficiente Seebeck, llamado también «poder termoeléctrico», se mide en V.K-1 (o más frecuentemente en µV.K-1 dado los valores de este coeficiente en los materiales más usuales). Los coeficientes Seebeck de ambos materiales por separado se relacionan con el coeficiente Seebeck del par según:
- Coeficiente Peltier. En el caso del efecto Peltier, una corriente eléctrica I recorre un circuito formado por los dos materiales, lo que conlleva una liberación de calor Q en uno de los materiales y una absorción en el otro, según la ecuación:
- Coeficiente Thomson. Al contrario que los coeficientes Seebeck y Peltier, el de Thomson puede definirse directamente para un único material. Cuando existen simultáneamente un gradiente de temperatura y una corriente eléctrica hay una generación o absorción de calor en cada segmento del material considerado individualmente. El gradiente del flujo térmico en el seno del material viene dado por:
- donde x es la coordenada espacial y τ es el coeficiente Thomson del material.
Relaciones entre los coeficientes Seebeck, Peltier y Thomson
Kelvin demostró que los tres coeficientes Seebeck, Peltier y Thomson no eran independientes entre sí, estando relacionados por las ecuaciones:
Principios de la conversión de energía por efecto termoeléctrico
Para la refrigeración o la generación de electricidad por efecto termoeléctrico, un "módulo" está constituido por "pares" conectados eléctricamente. Cada uno de estos pares está formado por un material semiconductor de tipo P (S>0) y de un material tipo N (S<0). Ambos materiales están unidos por un material conductor cuyo poder termoeléctrico se supone que es nulo. Las dos ramas (P y N) del par y todas las de los otros pares que componen el módulo se conectan eléctricamente en serie, y en paralelo desde el punto de vista térmico (véase el esquema de la derecha). Esta disposición permite optimizar el flujo térmico que atraviesa el módulo y su resistencia eléctrica. Para simplificar, todo el desarrollo que sigue se realizará para un único par, formado por materiales de sección constante.
La figura de la derecha presenta el esquema básico de un par P-N utilizado para la refrigeración termoeléctrica.
La corriente eléctrica es impuesta de tal manera que los portadores de carga eléctrica (electrones y huecos) se desplazan de la fuente fría a la caliente (en el sentido termodinámico) en las ramas del par. Al hacerlo contribuyen a una transferencia de entropía de la fuente fría a la caliente, y por tanto a un flujo térmico que se opone al de la conducción térmica.
Si los materiales utilizados tienen buenas propiedades termoeléctricas (se verá a continuación cuáles son los parámetros más importantes), este flujo térmico creado por el movimiento de los portadores de carga será más importante que el debido a la conductividad térmica, lo cual permitirá evacuar el calor de la fuente fría hacia la caliente, actuando como un refrigerador.
En el caso de la generación de electricidad, es el flujo de calor el que implica un desplazamiento de los portadores de carga y por lo tanto, la aparición de una corriente eléctrica.
Rendimiento de la conversión y parámetros importantes
Cálculo del rendimiento termoeléctrico
El cálculo del rendimiento de la conversión que realiza un sistema termoeléctrico se efectúa determinando la relación entre el flujo de calor y la corriente eléctrica en el material. Para ello se utilizan las relaciones de Seebeck, Peltier y Thomson (véase más arriba), pero también las leyes de transferencia de calor y de la corriente eléctrica.
El siguiente ejemplo presenta el cálculo del rendimiento de la conversión en el caso de la refrigeración (el caso de generación eléctrica puede realizarse haciendo razonamientos análogos). Retómese el esquema precedente. En cada una de las ramas del par, el flujo de calor generado por el efecto Peltier se opone a la conductividad térmica. El flujo total en las ramas P y N será:
y
siendo x la coordenada espacial (ver esquema), λp y λn las conductividades térmicas de los materiales y Ap y An sus secciones.
El calor se extrae de la fuente de frío con un flujo Qf:
<
Al mismo tiempo, la corriente que recorre las dos ramas es inicialmente el resultado del calor por efecto Joule I2ρ/A por unidad de longitud de las ramas. Utilizando la ecuación de Domenicali[6] y suponiendo que el coeficiente Thomson es nulo (esto hace suponer que S es independiente de la temperatura, ver la relación de Thomson), la conservación de la energía en el sistema se escribe en las dos ramas:
y
Considerando las condiciones en los límites, T=Tf en x=0 y T=Tc en x=Lp o x=Ln con Lp y Ln las longitudes de las ramas P y N, Tf y Tc las temperaturas son las de las fuentes de frío y calor, Qf se escribe:
con K y R las conductividad térmica y la resistencia eléctrica totales de cada una de las ramas del par.
y
La potencia eléctrica W disipada en el par debida al efecto Joule y al efecto Seebeck es:
El rendimiento del sistema termoeléctrico de refrigeración corresponde al cociente entre el calor extraído de la fuente fría y la potencia eléctrica disipada, es decir:
Para una ΔT dada, el rendimiento depende de la corriente eléctrica que circula. Dos valores particulares de corriente permiten maximizar bien el rendimiento de la conversión η o el calor extraído de la fuente fría Q_f.
Por un razonamiento similar, el rendimiento de un par P-N usado para generar electricidad vendrá dado por la potencia eléctrica útil consumida por una resistencia de carga R con un flujo térmico atravesando el material:
En este caso también existen dos valores particulares de I que maximizan el rendimiento de la conversión o bien la potencia eléctrica entregada por el sistema.
Parámetros importantes
Maximizando estos dos rendimientos de conversión, se puede demostrar que dependen únicamente de las temperaturas Tf y Tc y de un número adimensional (sin unidades) ZpnTM llamado "factor de mérito" (TM es la temperatura media del sistema, TM=(Tf+Tc)/2) cuya expresión es:
Hay que remarcar que para un par termoeléctrico cualquiera, el valor de Zpn no es una propiedad intrínseca del material, sino que depende de las dimensiones relativas del módulo, dada la relación existente entre las dimensiones y R y K (resistencia eléctrica y la conductividad térmica). El rendimiento de conversión del sistema (funcionando como generador eléctrico o como dispositivo de refrigeración) es máximo cuando Zpn es máximo, es decir, cuando el producto RK es mínimo, lo que sucede cuando:
En este caso, el factor de mérito Zpn se convierte en una función exclusiva de los parámetros intrínsecos de los materiales:
Así, para conseguir un óptimo rendimiento de la conversión conviene elegir los materiales que forman el par de forma que se maximice Zpn. Como regla general, esto no se limita simplemente a optimizar los factores de mérito individuales de cada material que forma el par Z=S2/(ρλ). En la mayoría de temperaturas utilizadas en la práctica, y sobre todo en aquellas empleadas para la generación de electricidad, las propiedades termoeléctricas de los mejores materiales de tipo P y N son similares. En estos casos, el factor de mérito del par es próximo al valor medio de los factores de mérito individuales, y es razonable el optimizar los factores de mérito de cada uno de los materiales de forma independiente.
La optimización de los materiales para su empleo en la conversión de energía mediante efecto termoeléctrico pasa pues necesariamente por la optimización de sus propiedades de conducción eléctrica y térmica, de manera que se maximice el factor de mérito:
Así pues, un buen material termoeléctrico poseerá simultáneamente un coeficiente Seebeck elevado, una buena conductividad eléctrica, y una reducida conductividad térmica.
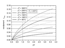
La figura de al lado muestra la evolución del rendimiento de conversión de un sistema termoeléctrico en las condiciones ideales en función del factor de mérito ZT. Por ejemplo, si ZT=1 y la diferencia de temperatura es de 300 °C, el rendimiento de conversión será del 8%, lo que significa que según el caso considerado (generación de electricidad o refrigeración) que el 8% del calor que atraviesa el material será convertido en electricidad, o bien que el calor extraído por el elemento refrigerador corresponderá al 8% de la potencia eléctrica empleada.
Módulos termoeléctricos
Optimización geométrica
Se ha visto que las propiedades de conversión del par de materiales termoeléctricos que constituyen un módulo no son exclusivamente intrínsecas, también dependen de la geometría del sistema (longitud y sección de las ramas del módulo) que influye a su vez en la resistencia eléctrica R y la conductividad térmica K de las ramas. En efecto, resulta necesario que K sea lo bastante reducida para que un gradiente térmico pueda mantenerse, pero también debe ser del valor suficiente como para que el calor pueda recorrer el módulo: si K es nulo, ningún calor recorrerá el módulo y entonces no hay conversión. Del mismo modo, R debe elegirse de manera que se alcance el mejor compromiso posible entre la potencia eléctrica y la diferencia de potencial eléctrica. Una vez elegidos los materiales que forman el módulo (gracias al factor de mérito ZT), es necesario optimizar la geometría del sistema para poder conseguir el rendimiento de la conversión, la potencia eléctrica o la mayor extracción de calor posible en función de la aplicación del módulo.
Módulos segmentados
En general, los materiales empleados en la fabricación de módulos de conversión termoeléctrica sólo son eficaces en un determinado rango de temperaturas. Así, por ejemplo, la aleación SiGe usada para alimentar la sonda Voyager sólo es eficaz a temperaturas superiores a los 1000K aproximadamente. En aplicaciones en las que el rango de temperaturas de trabajo es muy grande, resulta interesante usar varios materiales termoeléctricos en cada rama, cada uno de ellos con un intervalo de temperaturas en el que se maximiza su rendimiento. En estos casos se dice que el módulo termoeléctrico está segmentado.
La figura de al lado ilustra el concepto de módulo termoeléctrico segmentado. En este caso se tiene un gradiente de temperatura muy importante (700K de diferencia entre la zona caliente y la fría), y ningún material conocido es eficaz en todo este rango de temperatura. Cada una de las dos ramas del par está entonces formada por varios materiales (en el caso representado dos para la rama N y tres para la rama P). La longitud de cada uno de estos materiales se elige de forma que sean utilizados en el rango de temperaturas en el que sean más eficaces. Por lo tanto, un módulo construido de esta manera permitiría lograr un rendimiento de conversión, una potencia eléctrica o una extracción de calor, más elevada que si cada rama estuviera compuesta de un único material. De esta forma, los mejores rendimientos logrados en laboratorio con este tipo de módulos son actualmente próximos al 15% (lo que significa que el 15% del calor que recorre el material es convertido en potencia eléctrica). Sin embargo, los módulo segmentados resultan mucho más caros que los módulos "simples", lo que restringe su empleo a aplicaciones en las que el coste no resulta un factor decisivo a la hora de la elección.
Materiales termoeléctricos
Aplicaciones a bajas temperaturas
El material termoeléctrico más comúnmente utilizado a bajas temperaturas (150K-200K), está formado sobre la base de Bi1-xSbx (una aleación de bismuto y antimonio) pero desafortunadamente sólo posee buenas características termoeléctricas para el tipo N (conducción por electrones), lo que reduce el rendimiento de conversión del sistema, puesto que ningún material tipo P es eficaz a estas temperaturas (recuérdese que un sistema de conversión termoeléctrica se compone de ramas tipo P y N). Curiosamente, a pesar de que sus propiedades son relativamente medias (ZT~0,6), la aplicación de un campo magnético permite duplicar el factor de mérito, superando la unidad. Esta propiedad hace que estos materiales se empleen asociados a un imán permanente.[7]
Aplicaciones a temperatura ambiente
Actualmente, el material más estudiado es el Bi2Te3 (aleación de bismuto y telurio). Se emplea en dispositivos que funcionan a temperaturas próximas a la ambiente, lo que incluye a la mayoría de los dispositivos de refrigeración termoeléctrica. Las mejores prestaciones se han obtenido con la aleación Sb2Te3 (una aleación compuesta por antimonio y telurio) que posee la misma estructura cristalina.[8] Pueden conseguirse tanto muestras de tipo P como N, simplemente por medio de pequeñas variaciones de la composición en las proximidades de la estequiometría. En ambos casos los valores del factor de mérito ZT se aproximan a la unidad 1 a temperaturas cercanas a la ambiente.[9] Estos buenos valores ZT se obtienen en parte gracias a la muy reducidad conductividad térmica λ, que aproximadamente es de 1 W.m-1.K-1 en los mejores materiales.
Aplicaciones a temperaturas intermedias
Para su empleo a temperaturas medias (entre los 550K y 750K aproximadamente), el material más empleado es el telurio de plomo PbTe y sus aleaciones (PbSn) Te (Sn = estaño). Ambos compuestos, PbTe y SnTe pueden formar una solución sólida completa lo que permite optimizar la banda prohibida del semiconductor al valor deseado. Los mejores materiales obtenidos poseen factores de mérito próximos a la unidad a una temperatura cercana a los 700K.[10] Sin embargo, estos valores se obtienen únicamente en materiales de tipo N. Por tanto, actualmente el PbTe no puede constituir por sí solo las dos ramas de un termoelemento. La rama P se construye generalmente con un material de tipo TAGS (por sus componentes Telurio-Antimonio-Germanio-Plata), que alcanzan valores de mérito superiores a la unidad a 700K pero exclusivamente para el tipo P.[11] Por lo tanto, resulta crucial descubrir un material que pueda emplearse como tipo P y N en esta gama de temperaturas, ya que industrialmente, resulta más fácil emplear el mismo material para las dos ramas, eliminando además la necesidad de emplear Telurio, que es extremadamente tóxico.[12]
Aplicaciones a altas temperaturas
Las aleaciones a base de silicio y germanio poseen buenas características termoeléctricas a altas temperaturas (por encima de 1000K) y son utilizadas principalmente para la generación de electricidad en el campo espacial.[13][14] De este tipo son las aleaciones utilizadas para la alimentación eléctrica de la sondas espaciales, como es el caso de la Voyager.
Optimización de materiales termoeléctricos
La expresión del factor de mérito ZT=(S2T)/(ρλ) resume por sí sola la dificultad de optimizar las propiedades de un material termoeléctrico. De forma intuitiva parece difícil que un material posea simultáneamente una buena conductividad eléctrica y una mala conductividad térmica, que es una característica de los materiales aislantes. En el caso ideal, un buen material termoeléctrico debería poseer la conductividad eléctrica de un metal y al mismo tiempo la conductividad térmica de un vidrio[15]
Al numerador del factor de mérito ZT, S2σ (σ es la conductividad eléctrica, inversa de la resistividad eléctrica: σ=1/ρ) se le llama factor de potencia. En aplicaciones de generación de electricidad mediante el efecto termoeléctrico, la potencia útil será tanto más grande cuanto mayor sea el factor de potencia. Por desgracia, el coeficiente Seebeck y la conductividad eléctrica no son independientes entre sí, y varían de manera contraria con la concentración de los portadores de carga (concentración de electrones o huecos, véase semiconductor): los mejores poderes termoeléctricos se conseguirán con materiales con una pequeña concentración de portadores mientras que las mejores conductividades eléctricas se obtienen con materiales con una fuerte concentración de portadores. La solución de compromiso entre ambos factores implica la utilización de semiconductores como materiales termoeléctricos.
El segundo factor importante en la expresión del factor de mérito ZT (además del factor de potencia) es la conductividad térmica: un material tendrá propiedades termoeléctricas óptimas si posee una débil conductividad térmica. En efecto, de forma intuitiva, una buena conductividad térmica tendería a oponerse al establecimiento del gradiente térmico: el calor atravesaría el material sin dificultad. Así, para optimizar los materiales, el objetivo sería disminuir la conductividad térmica sin degradar la conductividad eléctrica. Sólo la contribución de las vibraciones de la red (véase conductividad térmica) deberá entonces reducirse, no la contribución a la conducción debida a los portadores de carga (electrones y huecos).
Vías de investigación
En el párrafo precedente se ha visto que en la actualidad, los mejores materiales utilizados en la construcción de dispositivos de conversión termoeléctrica poseen factores de mérito ZT de valor cercano a 1. Este valor no permite obtener rendimientos de conversión que hagan estos sistemas rentables para aplicaciones destinadas al "gran público". Por ejemplo, harían falta materiales con un ZT=3 para poder desarrollar un refrigerador doméstico competitivo. En el caso de sistemas de generación de electricidad (que podrían utilizarse, por ejemplo, en los tubos de escape de coches o camiones, o sobre microprocesadores, es posible aumentar la rentabilidad de los sistemas de dos formas: incrementando significativamente sus rendimientos (consiguiendo por ejemplo un ZT>2), o bien reduciendo sus costes de producción. Resumiendo, el objetivo de este párrafo es exclusivamente presentar de una forma no exhaustiva las vías de investigación abiertas en la actualidad, tanto en laboratorios industriales como públicos.
Véase también
Para una mejor comprensión de este artículo, es interesante leer los conceptos desarrollados en:
Notas y referencias
La versión original en francés de este artículo está basada en gran parte en la introducción de la Tesis Doctoral "Etude de skutterudites de terres-rares (R) et de métaux d (M) du type RM4Sb12: de nouveaux matériaux thermoélectriques pour la génération d’électricité.", disponible en internet en la dirección http://tel.ccsd.cnrs.fr/
- ↑ J. F. Nye, Physical properties of crystals, Oxford University Press, 1957, p. 216-218.
- ↑ J. F. Nye (1957). Physical properties of crystals. Oxford University Press. pp. 215-216.
- ↑ G. S. Nolas, J. Sharp and G. H. J., Thermoelectrics, basic principles and new materials developments, Springer 2001.
- ↑ G. D. Mahan, B. C. Sales and J. Sharp, Thermoelectric materials: new approaches to an old problem, Physics Today, Vol. 50 (1997), pp. 42.
- ↑ K. Matsubara, Development of a high efficient thermoelectric Stack for a waste exhaust heat recovery of vehicles, Proc 21st International Conference on Thermoelectrics- Long Beach (CA) USA, 2002, pp. 418.
- ↑ C. A. Domenicali, Stationary temperature distribution in an electrically heated conductor, Journal of Applied Physics, Vol. 25 (1954), pp. 1310.
- ↑ W. M. Yim and A. Amith, Bi-Sb alloys for magneto-thermoelectric and thermomagnetic cooling, Solid-State Electron., Vol. 15, No. 10 (1972), pp. 1141.
- ↑ O. Yamashita and S. Tomiyoshi, Effect of annealing on thermoelectric properties of bismuth telluride compounds, Japanese Journal of Applied Physics, Vol. 42 (2003), pp. 492.
- ↑ H. Goldsmid, Thermoelectric refrigeration, 1964.
- ↑ Z. H. Dughaish, Lead telluride as a thermoelectric material for thermoelectric power generation, Physica B, Vol. 322 (2002), pp. 205.
- ↑ J. W. Sharp, Some properties of Ge-Te based thermoelectric materials, Proc 22nd International Conference on Thermoelectrics, La Grand Motte, France, 2003, pp. 267.
- ↑ Ficha internacional de seguridad para el telurio, disponible en: [1].
- ↑ B. Abeles, D. S. Beers, G. D. Cody et coll., Thermal conductivity of Ge-Si alloys at high temperatures, Physical Review, Vol. 125 (1962), pp. 44.
- ↑ O. Yamashita and N. Sadatomi, Thermoelectric properties of Si1-xGex (x<0.10) with alloy and dopant segregations, Journal of Applied Physics, Vol. 88, No. 1 (2000), pp. 245.
- ↑ G. A. Slack, in Thermoelectric Handbook- Ed. Rowe DM- Chemical Rubber Company, Boca Raton FL (1995), pp. 407.
Bibliografía
Obras de referencia tratando la termoelectricidad (en inglés):
- Thermoelectric Handbook, Ed. Rowe DM - Chemical Rubber Company, Boca Raton (Floride) 1995.
- GS Nolas (también en alemán), Thermoelectric, basic principles and new materials developments, Springer 2001.
- GD Mahan (también en alemán), Thermoelectric materials: new approaches to an old problem, Physics Today, Vol. 50 (1997), p42.