Iconoscopio

Iconoscopio fue un antecesor de las cámaras de televisión,[2] en la cual un rayo de electrones de alta velocidad explora un mosaico fotoemisor. Un grupo de investigadores de RCA, liderado por Vladimir Zworykin, introdujo el Iconoscopio en 1934, después de visitar los laboratorios Philo Farnsworth y examinar, en 1930, cómo otra cámara de televisión electrónica del mundo había sido diseñada, para un potencial acuerdo de licencia con su nuevo empleador, RCA. El Iconoscopio fue la cámara más usada para transmisiones televisivas en los Estados Unidos entre los años 1936 y 1946.
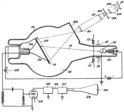
Diseño
Las imágenes eran proyectadas en una placa fotosensible, la cual partía la imagen en miles de elementos llamados ahora píxeles. Un rayo de electrones para escaneo atravesaba la parte frontal de la placa, "cargándola" con todos los píxeles. Cada píxel retenía una carga eléctrica proporcional a la energía lumínica inicialmente proyectada sobre él, el cual era transportado hacia el exterior de la cámara. De esta manera, una imagen visual era convertida en una señal eléctrica. El aspecto clave del Iconoscopio fue que el objetivo integrado era sensible a la imagen, y recolectaba la carga desarrollada por los impactos de luz recibidos entre exploraciones de lectura.
Historia
El año 1911, el ingeniero eléctrico Alan Campbell-Swinton presentó un esquema de televisión. En este esquema, la escena que se quisiera transmitir se enfocaría sobre una placa, la cual se encontraría dentro de un tubo de rayos catódicos.
John Logie Baird diseñó en 1923 un sistema para barrer mecánicamente imágenes estáticas y transmitirlas por cables telegráficos hasta el extremo receptor donde se obtenían imágenes oscilantes.
A los 21 años, Philo Farnsworth también estaba planteado un sistema semejante que se resolvería con una solución diferente. Philo construyó un sistema electrónico de rastreo, transmisión y recepción de imágenes en movimiento. El año 1927, el joven inventor fue capaz de observar la primera imagen limpiamente electrónica en movimiento.
No obstante esto, fue Vladimir Zworykin, un ingeniero ruso inmigrante en los Estados Unidos, quien construyó la primera cámara práctica. El año 1924 mostró a la compañía Westinghouse una versión primitiva de un sistema de televisión, pero no consiguió captar la atención de sus directivos.
A quien sí impresionó Zworykin fue a David Sarnoff, director de otra compañía, la RCA. Zworykin fue contratado el año 1930 por la RCA, pero no construyó su cámara (el iconoscopio) hasta 1933, cinco años después del éxito de Philo Fransworth; el soporte de la RCA fue suficiente como para entablar un juicio de patentes con Philo. El año 1934, la Oficina de Patentes se posicionó a favor de Philo y a la RCA no le quedó más remedio que pagarle sus derechos.
El iconoscopio se presentó al público en general en una rueda de prensa el junio de 1933 y dos documentos técnicos detallados se publicaron en septiembre y octubre del mismo año. A diferencia del disector de imágenes de Farnsworth, el iconoscopio de Zworykin era mucho más sensible, útil con una iluminación de fondo de la meta de entre 4 pies-c (43lx) y 20 pies-c (215lx). También era más fácil de fabricar y producía una imagen muy clara. El iconoscopio fue el tubo de la cámara principal que se usa en la radiodifusión de América desde 1936 hasta 1946, cuando fue sustituido por el tubo de imagen orticón.
Otras cámaras electrónicas de la época
Zworykin había solicitado previamente la patente de una cámara electrónica para Westinghouse en 1923 que usó un objetivo de dos lados. La imagen se mostraba en el frente fotosensible de la placa, mientras que el rayo catódico barría el reverso de la placa. Pero después de años de mejoras, la calidad de la imagen seguía siendo muy pobre, con numerosos problemas técnicos, y por ello, nunca abandonó la sala de pruebas. La patente nunca fue concedida.
La primera cámara de televisión completamente electrónica fue mostrada y patentada como Disector de imágenes por Philo Farnsworth en el año 1927 (patente publicada en 1930). RCA creyó que la patente de Farnsworth había sido inscrita tan ampliamente como para excluir cualquier otro sistema electrónico de formación de imagen, incluyendo al Iconoscopio, y solicitó una solicitud de Patent interference,[3] asegurando que el diseño de Zworykin de 1923 era anterior al Disector de imágenes de Farnsworth. Pero la prioridad del invento fue entregada a Farnsworth en 1935.
Un inconveniente del Disector de imágenes de Farnsworth fue que, como no se trataba de una cámara de almacenamiento, se requería mucho más brillo, y por consiguiente, más luces y más calor en los estudios de televisión, en comparación con el Iconoscopio. El Iconoscopio de Zworykin, además de esta ventaja, era más sencillo de fabricar, y producía una imagen más clara. Cuando el Iconoscopio fue remplazado a finales de la década de 1940, por las videocámaras actuales, muchos de sus conceptos básicos quedaron en los posteriores inventos; como el uso de una placa fotosensible y la lectura por rayo electrones. La palabra "imagen" en el nombre del Image Orthicon (como se conocieron a las cámaras que remplazaron al Iconoscopio) se refiere al hecho de que aquel utiliza una sección de emisión de electrones (como el disector de imágenes) a la cabeza de la placa fotosensible (como el Iconoscopio), combinando los mejores aspectos de ambos inventos.
Existe cierta similitud entre el Iconoscopio y la "Emitron camera"" de EMI, desarrollada inicialmente por J. D. McGee, y el equipo EMI bajo el liderazgo de Isaac Shoenberg. Aparentemente, dicho equipo había tenido acceso a alguna investigación de RCA, bajo un acuerdo de Patent-sharing (patentes compartidas). En todo caso, cuando Zworykin publicó su investigación acerca del Iconoscope en 1933, Shoenberg concluyó que EMI se había adelantado tecnológicamente y no vio mayores novedades en el desarrollo de Zworykin, rechazando una oferta de asistencia técnica por parte de RCA.
Véase también
Referencias
- ↑ Method of and apparatus for producing images of objects, U.S. patent #2,021,907, filed November 13, 1931, patent issued 1935.
- ↑ Television System, U.S. patent #2,141,059, filed December 29, 1923, patent issued 1938.
- ↑ MPEP 2300.01 Introduction - 2300 Interference Proceedings en inglés