Hematoma epidural
| Hematoma epidural | ||
|---|---|---|
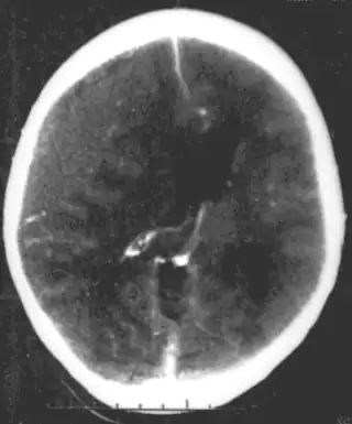
![]() Hematoma Epidural no traumático en una mujer joven. El área gris en la parte superior externa es el hematoma, que causa desviación de la línea media y compresión ventricular. | ||
| Especialidad | medicina de emergencia | |
| Sinónimos | ||
| Hemorragia extradural | ||
Un hematoma epidural es una acumulación de sangre que ocurre entre la duramadre (que es la capa que rodea al sistema nervioso central por fuera y al cráneo por dentro) y la superficie interna del cráneo.[1] Debido a que la duramadre también recubre a la médula espinal, un sangrado epidural puede también presentarse en la columna. En la mayoría de los casos se deben a traumas físicos y produce un aumento en la presión intracraneal e incluso puede verse reflejado en desviación de la línea media de las estructuras cerebrales, y puede llegar a ser mortal, por lo tanto, un hematoma epidural es una emergencia médica.[2] En la imagen por tomografía suele observarse una imagen biconvexa, a diferencia del hematoma subdural que muestra una imagen cóncava en su cara interna.
Etiología
Aproximadamente entre 15 y 20% de los pacientes con hematomas epidurales mueren como consecuencia del trauma.[3] En la mayoría de los casos, la hemorragia proviene de una ruptura de la arteria meníngea media que discurre por fuera de la duramadre. Tiende a tener una elevada asociación con fracturas del hueso temporal.
Cuando la sangre se acumula con rapidez se produce compresión cerebral y herniación transtentorial. En otros casos la sangre se acumula en cuestión de horas produciendo somnolencia, coma y muerte.[4]
Véase también
Referencias
- ↑ por MedlinePlus (julio de 2006). «Hemorragia extradural». Enciclopedia médica en español. Consultado el 2 de octubre de 2008.
- ↑ Mishra A, Mohanty S (2001). «Contre-coup extradural haematoma : A short report». Neurology India 49 (94). Consultado el 24 de enero de 2008.
- ↑ Sanders MJ and McKenna K. 2001. Mosby’s Paramedic Textbook, 2nd revised Ed. Chapter 22, "Head and Facial Trauma." Mosby.
- ↑ Manual Merck de Información Médica para el Hogar (2005-2008). «Traumatismos». Archivado desde el original el 23 de junio de 2008. Consultado el 2 de octubre de 2008. «En un adulto, los síntomas de un hematoma epidural pueden ser una pérdida inicial del conocimiento, recuperación posterior del mismo (intervalo lúcido) y finalmente un nuevo empeoramiento de los síntomas de presión sobre el cerebro, como somnolencia y pérdida de la sensibilidad o de la fuerza. Sin embargo, en un niño pequeño, no se presenta el intervalo lúcido sino más bien una pérdida gradual de conocimiento que se desarrolla en minutos u horas, debido al incremento de la presión en el cerebro.»
