Experimento de Rutherford
Los experimentos de Rutherford fueron una serie de experimentos históricos mediante los cuales los científicos descubrieron que cada átomo tiene un núcleo donde tiene las cargas positivas y la mayor parte de su masa se concentran. Ellos dedujeron esto midiendo cómo un haz de partículas alfa se dispersa cuando golpea una delgada hoja metálica. Los experimentos se realizaron entre 1908 y 1924 por Hans Geiger y bajo la dirección de Ernest Rutherford en los laboratorios de la Universidades de Mánchester
Resumen
La teoría popular de la estructura nuclear fue la de JJ Thomson. Thomson fue el científico que descubrió el electrón que forma parte de cada átomo. Thomson creía que el átomo era una esfera de carga positiva en la cual estaban dispuestos los electrones. Los protones y los neutrones eran desconocidos en esa época.
El modelo de Thomson no fue universalmente aceptado. Thomson mismo no fue capaz de desarrollar un modelo estable y completo de su concepto. Hantaro Nagaoka, un científico japonés, lo rechazó alegando que las cargas eléctricas opuestas no pueden penetrar entre sí. En cambio, propuso que los electrones orbitaban la carga positiva como los anillos de Saturno.[1]
La predicción
Según el modelo de Thomson, si una partícula alfa (partícula sub-microscópica con carga positiva) chocara con un átomo, pasaría directamente a través. A escala atómica, el concepto de «materia sólida» carece de sentido, por lo que la partícula alfa no rebotaría en el átomo como si fueran canicas. Solo se vería afectada por los campos eléctricos del átomo, y en el modelo de Thomson los campos eléctricos eran demasiado débiles para afectar una partícula alfa pasajera en un grado significativo. Ambas cargas negativas y positivas dentro del átomo de Thomson se extienden sobre todo el volumen del átomo. De acuerdo con la Ley de Coulomb, cuanto menos concentrada es una esfera de carga eléctrica, más débil será su campo eléctrico en su superficie.

Como ejemplo trabajado, considere una partícula alfa que pasa tangencialmente a un átomo de oro de Thomson, donde experimentará el campo eléctrico en su punto más fuerte y, de este modo, experimentará la máxima deflexión θ. Puesto que los electrones son muy ligeros comparados con la partícula alfa, su influencia puede ser despreciada y el átomo puede ser visto como una esfera de carga positiva.
- Qg = carga de un átomo de oro = 79e = 1.266 × 10-17 C
- Qα = carga de una partícula alfa = 2e = 3.204 × 10-19 C
- r = radio de un átomo de oro = 1.44 × 10-10 m
- v = velocidad de una partícula alfa = 1.53 107 m/s
- m = masa de una partícula alfa = 6.645 × 10-27 kg
- k = Constante de Coulomb = 8.998 × 109 N·m²/C2
Usando la física clásica, el cambio lateral de la partícula alfa en el momento py puede ser aproximado usando el impulso de la relación de fuerza y la expresión fuerza de Coulomb.
El cálculo anterior no es más que una aproximación, pero está claro que la deflexión a lo sumo estará en el orden de una pequeña fracción de un grado. Si la partícula alfa pasara a través de una lámina de oro de unos 400 átomos de espesor y experimentara una deflexión máxima en la misma dirección (poco probable), seguiría siendo una pequeña deflexión.
El resultado
A petición de Rutherford, Geiger y Marsden realizaron una serie de experimentos en los que dirigieron un haz de partículas alfa en una fina lámina de oro y midieron el patrón de dispersión usando una pantalla fluorescente. Detectaron partículas alfa rebotando en la hoja de oro en todas las direcciones, algunas de vuelta en la fuente. Esto debía ser imposible según el modelo de Thomson. Obviamente, esas partículas habían encontrado una fuerza electrostática mucho mayor que el modelo de Thomson, lo que a su vez implicaba que la carga positiva del átomo se concentraba en un volumen mucho más pequeño de lo que Thomson imaginaba.[2]
Cuando Geiger y Marsden dispararon partículas alfa en sus láminas, se dieron cuenta de que solo una pequeña fracción de las partículas alfa se desvió en más de 90°. La mayoría voló directamente a través de la lámina. Esto sugirió que esas esferas minúsculas de la carga positiva intensa fueron separadas por vastos golfos del espacio vacío. La mayoría de las partículas pasaron a través del espacio vacío con una desviación mínima, y una pequeña fracción golpeó los núcleos y se desvió fuertemente.
Rutherford rechazó así el modelo de Thomson, y en cambio propuso un modelo en el que el átomo consistía en su mayoría espacio vacío, con toda su carga positiva concentrada en el centro de un volumen muy pequeño, rodeado por una nube de electrones.
Resumen: la mayoría de los rayos alfa atravesaron la lámina sin dividirse, la mayor parte del espacio de un átomo es espacio vacío. Hay una densa y diminuta región que llamó núcleo, que contiene carga positiva y casi toda la masa del átomo; algunos rayos se desviaron porque pasan muy cerca del centro con carga eléctrica del mismo tipo que los rayos alfa (carga positiva); muy pocos rebotaron porque chocaron frontalmente contra ejes centros de carga positiva.
Cronograma personal
Contexto
Ernest Rutherford fue profesor de física en la Universidad de Mánchester. Ya había recibido numerosos honores por sus estudios de radiación. Había descubierto la existencia de rayos alfa; rayos beta y rayos gamma, y había demostrado que estos eran la consecuencia de la desintegración de los átomos. En 1906, recibió la visita de un físico alemán llamado Hans Geiger, y quedó tan impresionado que le pidió a Geiger que se quedara y le ayudara en sus investigaciones. Ernest Marsden era un estudiante de licenciatura en física que estudiaba bajo Geiger.
Las partículas alfa son pequeñas partículas positivamente cargadas que son emitidas espontáneamente por ciertas sustancias como el uranio y el radio. El propio Rutherford los había descubierto en 1899. En 1908 estaba tratando de medir con precisión su relación de carga-masa. Para hacer esto, primero necesitaba saber cuántas partículas alfa su muestra de radio estaba emitiendo (después de lo cual mediría su carga total y dividiría una por la otra). Las partículas alfa son demasiado pequeñas para ser vistas incluso con un microscopio, pero Rutherford sabía que las partículas alfa ionizan las moléculas de aire, y si el aire está dentro de un campo eléctrico, los iones producirán una corriente eléctrica. En este principio, Rutherford y Geiger diseñaron un dispositivo de conteo simple que consistió en dos electrodos en un tubo de cristal. Cada partícula alfa que pasaba por el tubo creaba un pulso electricidad que podía ser contado. Era una versión temprana del contador Geiger.[3]
Los experimentos que diseñaron involucraron bombardear una lámina metálica con partículas alfa para observar cómo la lámina los dispersó en relación con su espesor y material. Utilizaron una pantalla fluorescente para medir las trayectorias de las partículas. Cada impacto de una partícula alfa en la pantalla produjo un pequeño destello de luz. Geiger trabajó en un laboratorio oscurecido durante horas y horas, contando estos pequeños centellos con un microscopio. Rutherford carecía de la resistencia para este trabajo, por lo que se lo dejó a sus colegas más jóvenes.[4] Para la lámina metálica, probaron una variedad de metales, pero preferían el oro porque podían hacer que la lámina fuera muy fina, ya que el oro es muy maleable.[5] Como fuente de partículas alfa, la sustancia de elección de Rutherford era el radio, una sustancia varios millones de veces más radiactiva que el uranio.
El experimento de 1908

Un artículo de 1908 por Geiger, «Sobre la Dispersión de Partículas α por Materia», describe el siguiente experimento. Geiger construyó un largo tubo de vidrio de casi dos metros de longitud. En un extremo del tubo había una cantidad de "emanación de radio" (R) que servía como fuente de partículas alfa. El extremo opuesto del tubo se cubrió con una pantalla fosforescente (Z). En el centro del tubo había una hendidura de 0,9 mm de ancho. Las partículas alfa de R pasaron a través de la hendidura y crearon un parche brillante de luz en la pantalla. Se utilizó un microscopio (M) para contar los centelleos en la pantalla y medir su propagación. Geiger bombeó todo el aire del tubo para que las partículas alfa estuvieran desobstruidas y dejaron una imagen limpia y apretada en la pantalla que correspondía a la forma de la hendidura. Geiger entonces dejó un poco de aire en el tubo, y el parche brillante se hizo más difuso. Geiger luego bombeó el aire y colocó una hoja de oro sobre la ranura en AA. Esto también hizo que el parche de luz en la pantalla se extendiera más. Este experimento demostró que tanto el aire como la materia sólida podrían dispersar notablemente las partículas alfa. El aparato, sin embargo, solo podía observar pequeños ángulos de deflexión. Rutherford quería saber si las partículas alfa estaban siendo esparcidas por ángulos aún mayores-quizás más de 90°.
El experimento de 1909


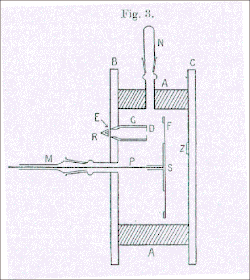
En un artículo de 1909, «En una Reflexión Difusa de las Partículas Alfa»,[6] Geiger y Marsden describieron el experimento mediante el cual demostraron que las partículas alfa pueden ser dispersadas por más de 90°. En su experimento prepararon un pequeño tubo de vidrio cónico (AB) que contenía radio, y su apertura fue sellada con mica. Esto fue su emisor de partículas alfa. Ellos montaron una placa de plomo (P), detrás de la cual se colocó una pantalla fluorescente (S). Ellos posicionaron el tubo de radio en el otro lado de la placa, de tal manera que las partículas alfa que emitió no pudieron golpear directamente la pantalla. Ellos notaron unos cuanto centelleos en la pantalla. Se debía a que algunas partículas alfa evitaron la placa de plomo rebotando en las moléculas de aire. Luego colocaron una lámina de metal (R) en el lado de la placa de plomo. Se dieron cuenta de más centelleos en la pantalla porque las partículas alfa estaban rebotando en la lámina. Contando los centelleos, notaron que los metales con mayor masa atómica, como el oro, reflejaban más partículas alfa que las más ligeras como el aluminio.
Geiger y Marsden entonces querían estimar el número total de partículas alfa que se estaban reflejando. La configuración anterior no era adecuada para ello porque el tubo contenía varias sustancias radiactivas (radio y sus productos de desintegración) y, por lo tanto, las partículas alfa emitidas tenían rangos variables y porque era difícil para ellos determinar a qué velocidad emitía el tubo partículas alfa. Esta vez, colocaron una pequeña cantidad de radio C (bismuto-214) sobre una placa de plomo, que rebotó sobre un reflector de platino (R) y sobre la pantalla. Ellos encontraron que solo una pequeña fracción de las partículas alfa que golpeó el reflector rebotó en la pantalla (1 en 8000).[6]
El experimento de 1910
Un artículo de 1910 de Geiger, «La dispersión de las α-partículas por materia», describe un experimento mediante el cual intentó medir cómo el ángulo más probable a través del cual se desvía una partícula alfa varía con el material por el que pasa, el espesor de dicho material, y la velocidad de las partículas alfa. Geiger construyó un tubo de vidrio hermético del que se bombeaba el aire. En un extremo había un bulbo (B) que contenía "emanción de radio" (radón-222). Por medio de mercurio, el radón en B fue bombeado por el estrecho del tubo hacia una pantalla de sulfuro de zinc fluorescente (S). El microscopio que utilizó para contar los centelleos en la pantalla fue fijado a una escala de milímetro vertical con un vernier, lo que permitió a Geiger para medir con precisión donde los destellos de luz apareció en la pantalla y así calcular los ángulos de las partículas de deflexión. Las partículas alfa emitidas desde A se estrecharon a una viga por un pequeño orificio circular en D. Geiger colocó una lámina de metal en la trayectoria de los rayos en D y E para observar cómo cambió la zona de destellos. También podría variar la velocidad de las partículas alfa colocando hojas extra de mic o aluminio en A.
A partir de las mediciones que tomó, Geiger llegó a las siguientes conclusiones:
- el ángulo de deflexión más probable aumenta con el espesor del material
- el ángulo de deflexión más probable es proporcional a la masa atómica de la sustancia
- el ángulo de deflexión más probable disminuye con la velocidad de las partículas alfa
- la probabilidad que una partícula se desvíe por más de 90° es muy pequeña
Rutherford modela matemáticamente el patrón de dispersión
En 1911, Rutherford publicó un documento histórico en 1911 titulado «La dispersión de partículas alfa y beta por materia y la estructura del átomo»[7] en el que propuso que el átomo contenga en su centro un volumen de carga eléctrica que es muy pequeño e intenso (Rutherford lo trató como una carga puntual en sus ecuaciones). A los efectos de sus ecuaciones, supuso que esta carga central era positiva, pero admitió que no podía probar esto todavía.
Rutherford desarrolló una ecuación que modelaba cómo la lámina debía dispersar las partículas alfa si toda la carga positiva y la mayor parte de la masa atómica se concentraban en un solo punto en el centro de un átomo.

- s = el número de partículas alfa que caen sobre el área unitaria con un ángulo de deflexión Φ
- r = la distancia del punto de incidencia de los rayos alfa sobre el material de dispersión
- X = el número total de partículas que caen sobre el material de dispersión
- n = el número de átomos en un volumen unitario del material
- t = el espesor de la lámina
- Qn = la carga positiva del núcleo atómico
- Qα = la carga positiva de las partículas alfa
- m = la masa de una partícula alfa
- v = la velocidad de la partícula alfa
La lámina de oro
En un artículo de 1913, «Las leyes de la deflexión de las partículas α mediante ángulos grandes»,[8] Geiger y Marsden describen una serie de experimentos mediante los cuales intentaron verificar experimentalmente la ecuación anterior que desarrolló Rutherford. La ecuación de Rutherford predijo que el número de centelleos por minuto (s) que se observará en un ángulo dado (Φ) debería ser proporcional a:
- csc4Φ/2
- espesor de la lámina t
- magnitud de la carga central Qn
- 1/(mv2)2
Su artículo de 1918 describe cuatro experimentos por los cuales demostraron cada una estas cuatro relaciones.


Para probar cómo la dispersión varió con el ángulo de deflexión (i.e., si s ∝ csc4Φ/2) Geiger y Marsden construyeron un aparato que consistía en un cilindro de metal hueco montado en un plato giratorio. Dentro del cilindro había una lámina metálica (F) y una fuente de radiación que contenía radón (R), montada sobre una columna separada (T) que permitía que el cilindro girara independientemente. La columna era también un tubo por el cual se bombeaba aire fuera de cilindro. Un microscopio (M) con su objetivo cubierto por una pantalla fluorescente de sulfuro de zinc (S) penetró en la pared del cilindro y apuntó a la hoja metálica. Al girar la mesa, el microscopio se puede mover un círculo alrededor de la lámina, permitiendo que Geiger observe y cuente las partículas alfa desviadas hasta 150°. Corrigiendo el error experimental, Geiger y Marsden encontraron que el número de partículas alfa que son desviadas por un ángulo Φ es en efecto proporcional a csc4Φ/2.[8]

Geiger y Marsden luego probabron cómo la dispersión varió con el espesor de la lámina (i.e. if s ∝ t). Construyeron un disco (S) con seis orificios perforados en él. Los orificios fueron cubiertos con láminas de metal de espesor variable, o ninguno para el control. Este disco se selló entonces en un anillo de latón (A) entre dos placas de vidrio (B y C). El disco podría ser girado por medio de una barra (P) para llevar cada ventana delante de la fuente de partículas alfa (R). En el panel de vidrio trasero se encontraba una pantalla de sulfuro de zinc (Z). Geiger y Marsden observaron que el número de centelleos que aparecieron en la pantalla era en realidad proporcional al espesor, siempre y cuando dicho espesor fuera pequeño.[8]
Geiger y Marsden reutilizaron el aparato anterior para medir cómo el patrón de dispersión varió con el cuadrado de la carga nuclear (i.e. si s ∝ Qn2). Geiger y Marsden supusieron que la carga del núcleo era proporcional al peso atómico del elemento, por lo que probaron si la dispersión era proporcional al peso atómico al cuadrado. Geiger y Marsden cubrían los agujeros del disco con láminas de oro, estaño, plata, cobre y aluminio. Medían el poder de frenado de cada lámina al equipararlo a un espesor equivalente de aire. Contaron el número de centelleos por minuto que cada lámina produjo en la pantalla. Dividieron el número de centelleos por minuto por el equivalente de aire. Contaron el número de centelleos por minuto que cada lámina produjo en la pantalla. Dividieron el número de centelleos por minuto por el equivalente de aire de la lámina respectiva, luego se dividieron de nuevo por la raíz cuadrada del peso atómico (ellos sabían que para las láminas de igual poder de frenado, el número de átomos por unidad de área es proporcional a la raíz cuadrada del peso atómico). Así, para cada metal, Geiger y Marsden obtuvieron el número de centelleos que produce un número fijo de átomos. Para cada metal, entonces dividieron este número por el cuadrado del peso atómico, y encontraron que las proporciones eran más o menos iguales. Así probaron que s ∝ Qn2.[8]
Por último, Geiger y Marsden probaron cómo la dispersión varió con la velocidad de las partículas alfa (i.e. si s α 1/v4). Utilizando de nuevo el mismo aparato, ellos retardaron las partículas alfa colocando hojas adicionales de mica delante de la fuente de partículas alfa. Observaron que, dentro del rango de error experimental, el número de escintilaciones era en realidad proporcional a 1/v4.[8]
Rutherford determina que el núcleo está cargado positivamente
En su artículo de 1911, Rutherford supuso que la carga central del átomo estaba cargada positivamente, pero reconoció que no podía decir con seguridad, ya que una carga negativa o positiva habría sido adecuada a su modelo de dispersión.[9] Los resultados de otros experimentos confirmaron su hipótesis. En un artículo de 1913,[10] Rutherford declaró que el «núcleo» estaba cargado positivamente, basado en el resultado de experimento que exploraban la dispersión de partículas alfa en varios gases.
En 1917, Rutherford y su asistente William Kay comenzaron a explorar el paso de las partículas alfa a través de gases como el hidrógeno y el nitrógeno. En un experimento en el que dispararon un haz de partículas alfa a través del hidrógeno, las partículas alfa golpearon los núcleos de hidrógeno hacia adelante en la dirección de la viga, no hacia atrás. En un experimento en el que dispararon partículas alfa a través de nitrógeno, descubrió que las partículas alfa golpearon a núcleos de hidrógeno (i.e. protones) fuera de los núcleos de nitrógeno.[9]
Véase también
- Dispersión de Rutherford
- Modelo atómico de Thomson
- Joseph Thomson
- Ernest Rutherford
- Modelo atómico de Rutherford
- Partícula Alfa
- Poder de frenado
Bibliografía
- «Rutherford's Nuclear World: The Story of the Discovery of the Nucleus». American Institute of Physics. Archivado desde el original el 24 de octubre de 2016. Consultado el 23 de octubre de 2014.
- «HyperPhysics». Georgia State University. Consultado el 13 de agosto de 2014.
- «Geiger and Marsden». Cavendish Laboratory. Archivado desde el original el 6 de octubre de 2014. Consultado el 23 de julio de 2014.
- Daintith, John; Gjertsen, Derek (1999). A Dictionary of Scientists. Oxford University Press. ISBN 0-19-280086-8.
- Fowler, Michael. «Rutherford Scattering». Lecture notes for Physics 252. University of Virginia. Consultado el 23 de julio de 2014.
- Geiger, Hans (1908). «On the Scattering of α-Particles by Matter». Proceedings of the Royal Society of London A 81 (546): 174-177. Bibcode:1908RSPSA..81..174G. doi:10.1098/rspa.1908.0067.
- Geiger, Hans; Marsden, Ernest (1909). «On a Diffuse Reflection of the α-Particles». Proceedings of the Royal Society of London A 82 (557): 495-500. Bibcode:1909RSPSA..82..495G. doi:10.1098/rspa.1909.0054.
- Geiger, Hans (1910). «The Scattering of the α-Particles by Matter». Proceedings of the Royal Society of London A 83 (565): 492-504. Bibcode:1910RSPSA..83..492G. doi:10.1098/rspa.1910.0038.
- Geiger, Hans; Marsden, Ernest (1913). «The Laws of Deflexion of α Particles through Large Angles». Philosophical Magazine. Series 6 25 (148): 604-623. doi:10.1080/14786440408634197.
- Heilbron, John L. (2003). Ernest Rutherford and the Explosion of Atoms. Oxford University Press. ISBN 0-19-512378-6.
- Jewett, John W., Jr.; Serway, Raymond A. (2014). «Early Models of the Atom». Physics for Scientists and Engineers with Modern Physics (9th edición). Brooks/Cole. p. 1299.
- Manners, Joy (2000). Quantum Physics: An Introduction. CRC Press. ISBN 0-7503-0720-X.
- Nagaoka, Hantaro (1904). «Kinetics of a System of Particles illustrating the Line and the Band Spectrum and the Phenomena of Radioactivity». Philosophical Magazine. Series 6 7: 445-455. doi:10.1080/14786440409463141. Archivado desde el original el 27 de noviembre de 2017. Consultado el 10 de noviembre de 2016.
- Reeves, Richard (2008). A Force of Nature: The Frontier Genius of Ernest Rutherford. W. W. Norton & Co. ISBN 978-0-393-07604-2.
- Rutherford, Ernest (1911). «The Scattering of α and β Particles by Matter and the Structure of the Atom». Philosophical Magazine. Series 6 21: 669-688. doi:10.1080/14786440508637080.
- Rutherford, Ernest (1912). «The origin of β and γ rays from radioactive substances». Philosophical Magazine. Series 6 24 (142): 453-462. doi:10.1080/14786441008637351.
- Rutherford, Ernest; Nuttal, John Mitchell (1913). «Scattering of α-Particles by Gases». Philosophical Magazine. Series 6 26 (154): 702-712. doi:10.1080/14786441308635014.
- Rutherford, Ernest (1914). «The Structure of the Atom». Philosophical Magazine. Series 6 27 (159): 488-498. doi:10.1080/14786440308635117.
- Rutherford, Ernest; Ratcliffe, John A. (1938). «Forty Years of Physics». En Needham, Joseph; Pagel, Walter, eds. Background to Modern Science. Cambridge University Press.
- Rutherford, Ernest (1913). Radioactive Substances and their Radiations. Cambridge University Press.
- Thomson, Joseph J. (1904). «On the Structure of the Atom: an Investigation of the Stability and Periods of Oscillation of a number of Corpuscles arranged at equal intervals around the Circumference of a Circle; with Application of the Results to the Theory of Atomic Structure». Philosophical Magazine. Series 6 7 (39): 237. doi:10.1080/14786440409463107.
- Tibbetts, Gary (2007). How the Great Scientists Reasoned: The Scientific Method in Action. Elsevier. ISBN 978-0-12-398498-2.
Enlaces externos
- Experimento de Rutherford
- El famoso applet original de Nori sobre la dispersión de las partículas alfa en el experimento de Rutherford
Referencias
- ↑ Nagaoka (1904)
- ↑ Manners (2000)
- ↑ Heilbron (2003)
- ↑ Reeves (2008)
- ↑ Tibbetts (2007)
- ↑ a b Geiger & Marsden (1909)
- ↑ Rutherford (1911)
- ↑ a b c d e f g Geiger & Marsden (1913)
- ↑ a b «Rutherford's Nuclear World: The Story of the Discovery of the Nucleus». American Institute of Physics. Archivado desde el original el 24 de octubre de 2016. Consultado el 23 de octubre de 2014.
- ↑ Rutherford & Nuttal (1913)


