Escape de áncora

En cronometría, el escape de áncora es un tipo de mecanismo de escape utilizado en los relojes de péndulo. Sirve para proporcionar un avance uniforme a las manecillas del reloj gracias a la regularidad de la oscilación del péndulo, y mantiene su balanceo dándole un pequeño impulso en cada ciclo de su movimiento de vaivén. El escape de áncora[1] se llama así porque una las partes principales del mecanismo tiene una forma que recuerda a la del ancla de un barco.
Fue inventado por el relojero William Clement,[2] [3][4] quien lo popularizó alrededor de 1680 a través de sus relojes de caja larga (también conocidos como relojes de abuelo). La invención de Clement fue una mejora sustancial del escape de fuerza constante de Robert Hooke, que databa de 1671.[5] El escape de áncora más antiguo conocido forma parte del reloj del Wadham College, instalado en el Wadham College de Oxford en 1670, probablemente por el relojero Joseph Knibb.[6][7] El áncora se convirtió en el escape estándar utilizado en casi todos los relojes de péndulo.
Una variación más precisa sin retroceso llamada escape de retroceso bloqueado (deadbeat scapement en inglés) fue inventada por Richard Towneley alrededor de 1675 e introducida por el relojero británico George Graham alrededor de 1715, y acabaría sustituyendo al escape de áncora común, siendo utilizado en la mayoría de los relojes de péndulo modernos.
Cómo funciona

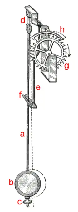
El escape de áncora consta de dos partes: la rueda de escape, que es una rueda vertical con dientes puntiagudos similares a los dientes de una sierra, y el áncora, con forma vagamente similar al ancla de un barco, que oscila hacia adelante y hacia atrás sobre un pivote justo encima de la rueda de escape. En los dos brazos del áncora hay caras curvas contra las que empujan los dientes de la rueda de escape, llamadas paletas. El eje central del áncora está unido a una horquilla empujada por el péndulo, de modo que el áncora oscila hacia adelante y hacia atrás, con las paletas alternativamente atrapando y liberando un diente de la rueda de escape en cada lado.
Cada vez que una paleta se aleja de la rueda de escape, liberando un diente, la rueda gira y un diente del otro lado atrapa a la otra paleta, que se está moviendo hacia la rueda. El impulso del péndulo continúa moviendo la segunda paleta hacia la rueda, empujando la rueda de escape hacia atrás por una distancia, hasta que el péndulo invierte la dirección y la paleta comienza a alejarse de la rueda, con el diente deslizándose en su superficie, empujándola. A continuación, el diente se desliza fuera del extremo de la paleta, comenzando el ciclo nuevamente.
Ni el escape de áncora ni la forma de retroceso bloqueado que se describe a continuación, se ponen en marcha por sí solos. El péndulo debe oscilar para que el mecanismo se ponga en marcha.

(a) varilla del péndulo
(b) péndulo
(c) tuerca de ajuste de velocidad
(d) resorte de suspensión
(e) muleta
(f) horquilla
(g) rueda de escape
(h) áncora
Retroceso
El movimiento hacia atrás de la rueda de escape durante parte del ciclo, llamado "retroceso", es una de las desventajas del escape de áncora. Produce una inversión temporal de todo el movimiento del tren de ruedas con cada tictac del reloj, lo que provoca un desgaste adicional del mecanismo (en especial de los dientes de los engranajes), lo que se acaba traduciendo en la falta de precisión del reloj. También puede provocar que las puntas de los dientes de la rueda de escape se claven en la superficie de las paletas. Los dientes están inclinados hacia atrás, en sentido opuesto al de la rotación, y la superficie de las paletas es ligeramente convexa para evitarlo.[8]
Otra razón por la que los dientes de la rueda de escape están inclinados hacia atrás es como medida de seguridad. Si el reloj se mueve sin inmovilizar el péndulo, el balanceo incontrolado del péndulo puede provocar que las paletas del áncora colisionen violentamente con la rueda de escape. Los dientes inclinados garantizan que las caras planas de las paletas del áncora golpeen primero los lados de los dientes, lo que evita que las puntas delicadas se rompan.[8]
El escape de retroceso bloqueado (abajo) evita que la rueda gire hacia atrás. Una forma de determinar si un reloj de péndulo antiguo tiene un escape de áncora o de retroceso bloqueado es observar el segundero. Si se mueve ligeramente hacia atrás después de cada tictac, lo que indica un retroceso, el reloj tiene un escape de áncora.
Muleta y horquilla
El eje del áncora, llamado "muleta", termina en una horquilla que abraza el eje del péndulo, lo que le da impulsos transversales. La varilla del péndulo está colgada de un resorte de suspensión recto corto unido a un soporte resistente directamente detrás del áncora. El pivote del áncora está alineado con el punto de flexión del resorte. Esta disposición da como resultado un soporte de péndulo más estable que el obtenido al suspenderlo directamente del áncora.
Detalles de diseño
El áncora es muy tolerante a las variaciones en su geometría, por lo que su forma variaba ampliamente.[8] A finales del siglo XIX, en Gran Bretaña, el diseño habitual[8] era un ángulo de 90° entre las paletas, lo que significaba ubicar el pivote del áncora a una distancia de √2 ≈ 1,4 veces el radio de la rueda de escape desde el pivote de la rueda de escape. En un reloj de abuelo, que tenía un péndulo que oscilaba una vez por segundo, la rueda de escape a menudo tenía 30 dientes, lo que hacía que la rueda de escape girara una vez por minuto para que el minutero pudiera unirse a su eje. En una rueda de escape de 30 dientes, las paletas abarcan aproximadamente 7½ dientes. El ángulo de impulso de las paletas, que determinaba la oscilación del péndulo, era de 3-4°.
Historia
El áncora fue el segundo escape ampliamente utilizado en Europa, reemplazando en los relojes de péndulo al primitivo foliot(escape de corona), que contaba con 400 años de antigüedad. Los péndulos de los relojes con escape de corona tenían oscilaciones muy amplias, de 80° a 100°. En 1673, diecisiete años después de que inventara el reloj de péndulo, Christiaan Huygens publicó su análisis matemático de los péndulos, Horologium Oscillatorium, obra en la que demostró que las amplias oscilaciones del péndulo de los relojes con escape de corona hacían que fueran imprecisos, porque el período de oscilación del péndulo no era isócrono, sino que variaba en un pequeño grado debido al error circular asociado con los cambios en la amplitud de la oscilación del péndulo, generados por las inevitables alteraciones de la fuerza motriz. La constatación de que solo las oscilaciones pequeñas del péndulo eran casi isócronas motivó a los relojeros a diseñar escapes con oscilaciones pequeñas.
La principal ventaja del áncora era que al ubicar las paletas más lejos del pivote, la oscilación del péndulo se reducía de alrededor de 100° en los relojes con escape de corona a solo 4°-6°.[9]
Además de la precisión mejorada debido al isocronismo, esto permitió que los relojes usaran péndulos más largos, que tenían un "latido" más lento. La menor resistencia del aire (la resistencia aerodinámica aumenta con el cuadrado de la velocidad, por lo que un péndulo más rápido experimenta una resistencia mucho mayor) significaba que necesitaban menos energía para seguir oscilando y causaban menos desgaste en el movimiento del reloj. El áncora también permitió el uso de péndulos con péndolas más pesadas para una fuerza de accionamiento dada, lo que hacía que el péndulo fuera más independiente del escape (es decir, con un factor de calidad Q más alto) y, por lo tanto, más preciso. Estos péndulos largos requerían cajas de reloj largas y estrechas. Alrededor de 1680, el relojero británico William Clement comenzó a vender los primeros relojes comerciales que utilizaban el escape de áncora, relojes altos independientes con péndulo de segundos de 1 metro (39 pulgadas) contenidos dentro de una caja de reloj larga y estrecha que llegaron a llamarse relojes de caja larga o relojes de pie.[10] El áncora aumentó tanto la precisión de los relojes que alrededor de 1680-1690 el uso de la aguja del minutero, anteriormente la excepción en los relojes, se convirtió en la regla.[11]
El escape de áncora reemplazó al de corona en los relojes de péndulo en unos cincuenta años, aunque los relojeros franceses continuaron utilizando escapes de corona hasta aproximadamente 1800. Muchos relojes con escape de corona se reconstruyeron con áncoras. En el siglo XVIII, el escape de retroceso bloqueado (más exacto), reemplazó al áncora en los reguladores de precisión, pero el áncora siguió siendo el caballo de batalla en los relojes de péndulo domésticos. Durante el siglo XIX, la forma de retroceso bloqueado se fue imponiendo gradualmente en la mayoría de los relojes de calidad, pero la forma de áncora todavía se utiliza en algunos relojes de péndulo en la actualidad.[9]
Los relojes de torre son uno de los pocos tipos de relojes de péndulo en los que no dominaba el escape de áncora. La fuerza variable aplicada al tren de ruedas por las grandes manecillas exteriores, expuestas a cargas de viento, nieve y hielo, se manejaba mejor con escapes de gravedad.
Desventajas
El escape de áncora es fiable y tolera grandes errores geométricos en su construcción, pero su funcionamiento es similar al del antiguo foliot, y conserva dos de sus principales desventajas:
- Es un escape "friccional", es decir, el péndulo siempre es empujado por un diente de la rueda de escape durante todo su ciclo y nunca se le permite oscilar libremente. Esto hace que la velocidad del reloj sea sensible a los cambios en la fuerza motriz. Cualquier pequeño cambio en la fuerza aplicada a las paletas, por ejemplo, por un cambio en la lubricación debido al envejecimiento del aceite, o la fuerza decreciente del resorte motor de un reloj a medida que se agota, cambiará el periodo de la oscilación del péndulo. Los relojes con escape de áncora impulsados por un resorte necesitaban un caracol para hacer uniforme la fuerza suministrada por el muelle espiral a medida que se que destensa.
- Es un escape de "retroceso" como se mencionó anteriormente, de manera que el impulso del péndulo empuja la rueda de escape hacia atrás durante parte del ciclo. Esto provoca un desgaste adicional en el movimiento y aplica una fuerza variable al péndulo, lo que provoca inexactitud en su funcionamiento.
Escape de retroceso bloqueado


Las dos desventajas anteriores se eliminaron con la invención de una versión mejorada del escape de áncora: el escape de "retroceso bloqueado" (beatdead) o "Graham". Su invención a menudo se atribuye erróneamente al relojero inglés George Graham, quien lo introdujo alrededor de 1715 en sus relojes reguladores de precisión.[12][13][14][15] En realidad, fue inventado alrededor de 1675 por el astrónomo Richard Towneley, y utilizado por primera vez por el mentor de Graham, Thomas Tompion, en un reloj construido para Sir Jonas Moore y en los dos reguladores de precisión que produjo para el nuevo Real Observatorio de Greenwich en 1676,[16] mencionado en la correspondencia entre el astrónomo real John Flamsteed y Towneley.[17][18]
La forma del escape de retroceso bloqueado es menos tolerante a la inexactitud en su fabricación o al desgaste durante el funcionamiento, y se utilizó inicialmente solo en relojes de precisión, pero su uso se extendió durante el siglo XIX a la mayoría de los relojes de péndulo de calidad. Casi todos los relojes de péndulo fabricados en la actualidad lo utilizan.
Cómo funciona
Las paletas del escape de retroceso bloqueado tienen un cuidado diseño en sus dos caras: una cara de "bloqueo" o "muerta", con una superficie curva concéntrica con el eje sobre el que gira el áncora, y una cara de "impulso" inclinada.[9] Cuando un diente de la rueda de escape se apoya contra una de las caras de bloqueo, su fuerza se dirige a través del eje de pivote del áncora, por lo que no da impulso al péndulo, lo que le permite oscilar libremente. Cuando la paleta del otro lado libera la rueda del escape, un diente aterriza primero en esta cara bloqueada y permanece apoyado contra ella durante la mayor parte del movimiento de ida y vuelta del péndulo. Durante este período, la rueda de escape está bloqueada y no puede girar. Cerca del final del movimiento del péndulo, el diente se desliza desde la cara bloqueada hasta la cara inclinada de la paleta o "de impulso", lo que permite que la rueda de escape gire y empuje al péndulo, antes de separarse de la paleta. Sigue siendo un escape de reposo por fricción porque el deslizamiento del diente de escape en la cara muerta agrega fricción al movimiento del péndulo, pero tiene menos fricción que el escape de áncora porque se elimina la fuerza de retroceso.
A diferencia de la inclinación hacia atrás de los dientes de la rueda de escape de áncora, los dientes de la rueda del escape de retroceso bloqueado son radiales o inclinados hacia adelante, con el fin de garantizar que el diente haga contacto con la cara "de bloqueo" de la paleta, lo que evita el retroceso.[9]
La condición de Airy
Los relojeros descubrieron en el siglo XVIII que, para lograr precisión, el mejor lugar para aplicar el impulso para mantener el péndulo oscilando era en la parte inferior de su oscilación, cuando pasa por su posición de equilibrio. Si el impulso se aplica durante la oscilación descendente del péndulo, antes de que llegue a su punto más bajo, la fuerza del impulso tiende a disminuir el período de oscilación, por lo que un aumento en la fuerza de accionamiento hace que el reloj se atrase. Si el impulso se aplica durante la oscilación ascendente del péndulo, después de que llega a su punto más bajo, la fuerza del impulso tiende a aumentar el período de oscilación, por lo que un aumento en la fuerza de accionamiento hace que el reloj se atrase. Si el impulso se aplica en la parte inferior, los cambios en la fuerza del impulso teóricamente no deberían tener efecto en el período.
En 1826, el astrónomo británico George Biddell Airy demostró este efecto. En concreto, comprobó que un péndulo movido por un impulso de accionamiento que es simétrico respecto de su posición de equilibrio inferior es isócrono para diferentes fuerzas de accionamiento, ignorando la fricción, y que el escape de retroceso bloqueado satisfacía aproximadamente esta condición.[19][20] Se cumpliría exactamente si los dientes de la rueda de escape cayeran exactamente en la esquina entre las dos caras de las paletas, pero para que el escape funcione de manera fiable, los dientes deben caer por encima de la esquina, en la cara "de bloqueo".[21]
Comparación del movimiento de los escapes de áncora y de retroceso bloqueado
Una de las principales causas de error en los relojes son los cambios en la fuerza de accionamiento aplicada al escape, causados por pequeños cambios en la fricción de los engranajes o las paletas, o por la fuerza decreciente del resorte motor a medida que se desenrolla. Un escape en el que los cambios en la fuerza de accionamiento no afectan la velocidad se llama isócrono. El rendimiento superior del escape de retroceso bloqueado sobre el de áncora se relaciona con la mejora del isocronismo de las oscilaciones del péndulo. Esto se debe a las diferentes formas en las que los cambios de la fuerza de accionamiento afectan la oscilación del péndulo en los dos escapes:[22]
- En el escape de áncora, un aumento de la fuerza de accionamiento hace que el péndulo oscile hacia adelante y hacia atrás más rápidamente, pero no aumenta mucho la amplitud de su oscilación. La mayor fuerza del diente de la rueda de escape sobre la paleta durante la parte de retroceso del ciclo tiende a disminuir la oscilación del péndulo, mientras que la fuerza del diente durante la parte de impulso hacia adelante del ciclo tiende a aumentar la oscilación del péndulo. Estos dos efectos tienden a cancelarse entre sí, dejando la oscilación sin cambios. Pero ambos efectos disminuyen el tiempo de oscilación. En otras palabras, el aumento de la fuerza golpea el péndulo hacia adelante y hacia atrás en un arco fijo más rápido.
- En el escape de retroceso bloqueado se elimina el impulso hacia atrás, y el aumento de la fuerza de accionamiento hace que el péndulo oscile en un arco más amplio y se mueva más rápido. El tiempo necesario para cubrir la distancia adicional compensa exactamente la mayor velocidad del péndulo, dejando el período de oscilación sin cambios. Sin embargo, la oscilación más amplia provoca un ligero aumento del período debido al error circular. Para los relojes domésticos, este efecto es insignificante, pero es una limitación en la precisión que se puede lograr con los relojes reguladores de precisión con escapes de retroceso bloqueado.
Cuando se inventó el escape de retroceso bloqueado, los relojeros creyeron inicialmente que tenía un isocronismo inferior al de áncora, debido al mayor efecto de los cambios de fuerza en la amplitud del péndulo.[22] Análisis recientes indican que el no isocronismo del escape de áncora puede cancelar el error circular del péndulo. Es decir, un aumento en la amplitud de oscilación de un escape de retroceso bloqueado provoca un ligero aumento en el período de un péndulo debido al error circular, y que esto puede compensar la disminución del período debido al isocronismo. Debido a este efecto, un escape de áncora cuidadosamente ajustado con paletas pulidas podría ser más preciso que un escape de retroceso bloqueado.[23] Esto ha sido confirmado por al menos un experimento moderno.[24][25]
Véase también
Referencias
- ↑ Real Academia Española. «áncora». Diccionario de la lengua española (23.ª edición). áncora: 1. f. ancla (‖ de la embarcación).
- ↑ Reid, Thomas (1832). Treatise on Clock and Watch-making, Theoretical and Practical. Philadelphia, USA: Carey & Lea. p. 184.
- ↑ Beckett, Edmund (Lord Grimsthorpe) (1874). A Rudimentary Treatise on Clocks and Watches and Bells, 6th Ed.. London: Lockwood & Co. p. 71.
- ↑ Usher, Abbott Payson (1988). A History of Mechanical Inventions. Courier Dover. p. 313. ISBN 0-486-25593-X.
- ↑ Inwood, Stephen (2003). The Forgotten Genius. San Francisco: MacAdam/Cage Pub. p. 34. ISBN 978-1-931561-56-3. OCLC 53006741. «la afirmación frecuentemente repetida de que Hooke inventó el escape de ancla procede del libro The artificial clock-maker (1696) de William Derham, y actualmente se considera falsa.»
- ↑ Chapman, Allen (2005). England's Leonardo: Robert Hooke and the Seventeenth Century Scientific Revolution. CRC Press. p. 84. ISBN 0-7503-0987-3.
- ↑ Macey, Samuel L., ed. (1994). Encyclopedia of Time. New York: Garland Publishing. p. 125. ISBN 0815306156.
- ↑ a b c d Britten, Frederick J. (1896). The Watch and Clock Maker's Handbook, 9th Ed.. London: E.F. & N. Spon. pp. 8-11.
- ↑ a b c d Headrick, Michael (2002). «Origin and Evolution of the Anchor Clock Escapement». Control Systems magazine (Inst. of Electrical and Electronic Engineers) 22 (2). Archivado desde el original el 14 de septiembre de 2004. Consultado el 6 de junio de 2007.
- ↑ Moore, N. Hudson (1936). The Old Clock Book. Tudor. p. 40.
- ↑ Milham 1945, p.146
- ↑ Milham 1945, p. 185.
- ↑ Glasgow 1885, p. 297.
- ↑
Penderel-Brodhurst, James George Joseph (1910-1911). «Encyclopædia Britannica». En Chisholm, Hugh, ed. Encyclopædia Britannica. A Dictionary of Arts, Sciences, Literature, and General information (en inglés) 6 (11.ª edición). Encyclopædia Britannica, Inc.; actualmente en dominio público. pp. 536—553; see page 541 & figs. 8 & 9.
- ↑ «Deadbeat escapement». Encyclopedia of Clocks and Watches. Old and Sold Antiques Marketplace. Archivado desde el original el 20 de mayo de 2008. Consultado el 8 de junio de 2008.
- ↑ Betts, Jonathan Regulators in Bud, Robert; Warner, Debra Jean (1998). Instruments of Science: An Historical Encyclopedia. Taylor & Francis. p. 121. ISBN 0-8153-1561-9.
- ↑ Flamsteed, John; Forbes, Eric; Murdin, Lesley (1995). The Correspondence of John Flamsteed, First Astronomer Royal, Vol.1. CRC Press. ISBN 978-0-7503-0147-3. Letter 229 Flamsteed to Towneley (September 22, 1675), p. 374, and Annotation 11, p. 375.
- ↑ Andrewes, W. J. H. Clocks and Watches: The leap to precision in Macey, Samuel (1994). Encyclopedia of Time. Taylor & Francis. p. 126. ISBN 0-8153-0615-6. Aquí se cita una carta del 11 de diciembre, pero es posible que se refiriera a la carta del 22 de septiembre mencionada anteriormente.
- ↑ Airy, George Biddle (26 de noviembre de 1826). «On the Disturbances of Pendulums and Balances and on the Theory of Escapements». Transactions of the Cambridge Philosophical Society (University Press). 3 (Part 1): 105. Consultado el 25 de abril de 2008.
- ↑ Beckett 1874, p. 75–79.
- ↑ Beckett 1874, p. 75.
- ↑ a b Glasgow, David (1885). Watch and Clock Making. London: Cassel & Co. p. 293.
- ↑ Rawlings, Arthur Lionel (1993). The Science of Clocks and Watches, 3rd Ed. Upton, UK: The British Horological Institute. ISBN 0-9509621-3-9. page 108
- ↑ "A Simple Regulator with an Isochronous Combination of Pendulum and Escapement" Bernard Tekippe, NAWCC Watch & Clock Bulletin, April 2010, pp131 - 138.
- ↑ «A Simple Regulator». NAWCC News (Atlanta: National Assoc. of Watch and Clock Collectors): 1. October 2009. Archivado desde el original el 23 de mayo de 2014. Consultado el 22 de mayo de 2014.
Enlaces externos
- Headrick, Michael (2002). «Origin and Evolution of the Anchor Clock Escapement». Control Systems magazine (Inst. of Electrical and Electronic Engineers) 22 (2). Archivado desde el original el 25 de octubre de 2009. Consultado el 6 de junio de 2007. -enlace muerto
- Glasgow, David (1885). Watch and Clock Making. London: Cassel & Co. p. 293. en Google Books. Detalles de construcción.