Antena cúbica





La Antena cúbica es un tipo de antena consistente en uno o varios elementos excitados y varios elementos parásitos, como en la antena yagi, pero en este caso los elementos son bucles o cuadros de onda completa. Estos elementos suelen colocarse en forma de cuadrado o de rombo, aunque también puede ser en forma de círculo o estrella de varias puntas. Es bastante usada por radioaficionados.
Historia
La antena cúbica es fruto de una sucesión de inventos, tal como se nombran a continuación.
1924, Moses Jacobson, inventa y patenta una serie de antenas de bucle en forma de rombo, tal como puede apreciarse en la patente original; US1747008
1938, George H.Brown, inventa y patenta una serie de antenas de bucle, en forma de rombo, y con cada lado de un cuarto de onda, tal como puede comprobarse en la patente original; US2207781
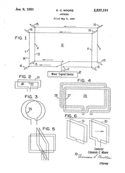
1951, Clarence C. Moore W9LZX, trabajando como ingeniero en la emisora comercial HCJB (emisora de radiodifusión en onda corta situada en la cordillera de los Andes), inventa y patenta una antena con un número par de bucles a la que denomina "Quad". Patente US2537191
...a loop antenna having an even numbers of turns of a length of one or more wavelenghts around each turn...
Pero esa antena, tal como puede apreciarse en la patente original, no es la antena cúbica actual que todos conocemos, si no otra parecida.
Dadas las grandes descargas que sufría la antena anterior tipo yagi, debidas a la estática, el Sr. Moore se dio cuenta de que cerrando los elementos en forma de bucle, esas descargas ya no se producían.
Clarence C. Moore, describe su antena como un "dipolo doblado abierto" y lo describe de la siguiente manera:
We took about one hundred pounds of engineering reference books with us on our short vacation to Posoraja, Ecuador during the summer of 1942, determined that with the help of God we could solve our problem. There on the floor of our bamboo cottage we spread open all the reference books we had brought with us and worked for hours on basic antenna design. Our prayers must have been answered, for gradually as we worked the vision of a quad-shaped antenna gradually grew with the new concept of a loop antenna having no ends to the elements, and combining relatively high transmitting impedance and high gain.
1957, James Sherriff McCaig, inventa y patenta la que nosotros conocemos como antena cúbica actualmente, además, inventa y patenta la cúbica multibanda, tal como puede comprobarse en la patente original; GB850974A
1960, Bern Rudolf Baumgartner, inventa y patenta la conocida como Swiss Quad, tal como se ve en la patente original; 384644
Enlaces externos
- Antenas Cúbicas por EA1DDO Información sobre antenas cúbicas para la radioafición.
- Galería de Antenas Cúbicas Colección de más de 200 fotos de Antenas Cúbicas.